59 KiB
(12)
EUROPEAN PATENT APPLICATION
(43) Date of publication: 14.05.2003 Bulletin 2003/20
(51) Int Cl.7: B29D 31/00, B29C 70/48
(21) Application number: 02024766.4
(22) Date of filing: 07.11.2002
<html>| (84)Designated Contracting States: ATBEBGCHCYCZDEDKEEESFIFRGBGR IEITLILUMCNLPTSESKTR DesignatedExtensionStates: AL LT LV MK RO SI (30)Priority:13.11.2001 DK 200101686 22.11.2001DK200101745 (71)Applicant:BonusEnergyA/S 7330 Brande (DK) (72)Inventors: Stiesdal,Hendrik 5000OdenseC(DK) | ·Enevoldsen,PederBay 7100 Vejle (DK) Johansen, Kaj 9440 Aabybro (DK) Kristensen, Jens Jorgen O 9240 Nibe (DK) Nortem, Michael 9230Svenstrup(DK) Winther-Jensen,Martin 4690 Haslev (DK) (74) Representative: Nielsen, Leif et al Patrade A/S FredensTorv3A 8000 Aarhus C (DK) |
(54) Method for manufacturing windmill blades
(57) There is disclosed a method for making a windmill blade whereby problems with glue joints and with exposure of the workers to environmentally hazardous substances are avoided. This is effected by making the windmill blade in a closed mould with a mould core (3) inside mould parts (22, 48) for formation of a mould cavity (51), in which fibre material (45,47) and core material (46) are placed. After applying vacuum to the mould cavity (51), matrix material (57) is injected via a filling pipe (29), which is placed at a downwardly oriented side edge of the blade during the filling. Hereby is established a flow front (61) which is used for indicating complete filling when this reaches the trailing edge of the blade and penetrates out through overflow apertures.
公开了一种制造风力机叶片的方法,从而避免了胶接接头问题以及工人接触环境有害物质的问题。这是通过在闭合模具中制造风力机叶片来实现的,该闭合模具具有位于模具部件 (22, 48) 内部的模具型芯 (3),以形成模腔 (51),在该模腔中放置纤维材料 (45,47) 和芯材 (46)。在对模腔 (51) 施加真空后,通过填充管 (29) 注入基体材料 (57),该填充管在填充过程中放置在叶片的向下侧边缘。由此形成一个流前 (61),当其到达叶片的后缘并穿透溢流孔时,该流前用于指示完全填充。

Description
Field of the Invention
[0001] The present invention concerns a method for making windmill blades of composite materials such as glass or carbon fibre reinforced epoxy, polyester, vinyl ester, or thermoplastic.
Background Art
[0002] Different methods for making windmill blades are known.
[0003] Thus it is known that windmill blades may be made by winding roving tapes or roving bundles around a core or mandrel. Methods for this are inter alia described in US patents 4,242,160 and 4,381,960.
[0004] Such methods by winding have the disadvantage that after setting, the winded item will normally appear with the raw composite material surface as an external surface which is incompatible with many applications, e.g. for windmill blades. A satisfactory surface quality therefore presupposes a finishing treatment, e. g. by the bonding of shells made separately.
[0005] Another drawback by this method is that the winding normally presupposes use of a mandrel with a certain strength which therefore is desired to be reused. In these cases, the method may only be used with items having a geometry allowing removal of the mandrel, which means that the dimensions of the internal crosssection of the cavity at a given distance from the end from which the mandrel it drawn out are not to exceed the dimensions of any of the cross-sections situated between the position in question and the end, and that some tapering in the mould will normally be required in practice. Such a method may thus not be used for e.g. tanks or whole windmill blades.
[0006] It is also prior art that windmill blades may be made by a method where a blade is usually made with two half-shells which are joined at leading and trailing edges by bonding. The half-shells are usually supported inside the blade cavity by one or more beams, which are also joined to the half-shells by bonding, where the beams e.g. may be made in U- or I-shape so that the flanges of these beams form contact surfaces with the half-shells, or where the beams e.g. may be made by winding so that a part of the external surface of the winded beam forms contact surfaces towards the half-shells. The half-shells may e.g. be made of dry fibre materials which are supplied resin by manual laying, vacuum injection or the like, or they may be made of prepeg, where the fibre materials are impregnated in advance with resin which is brought to set by the action of heat, UV-irradiation, or similar. In other embodiments, beams and/or half-shells are made of thermoplastic, e.g. by using fibre materials that are combinations of temperature resisting fibre materials and thermoplastic, and where the fibre material after laying is brought to a temperature where the thermoplastic material melts, thereby acting as resin in the finished laminate.
[0007] However, it is a problem with this method that it may be difficult to ensure a satisfying quality of the glue joints established in the interior of the structure for the mutual joining of the half-shells and for joining possible beams with the half-shells. This is partly due to fundamental problems regarding material technology, partly to more specific manufacturing problems.
[0002] 制造风电机组叶片的不同方法是已知的。
[0003] 因此,已知风电机组叶片可以通过将粗纱带或粗纱束缠绕在芯材或芯模上制成。例如,美国专利4,242,160和4,381,960中描述了相关方法。
[0004] 这种缠绕方法的缺点是,固化后,缠绕件通常会以原始复合材料表面作为外表面,这与许多应用不兼容,例如风电机组叶片。因此,要获得令人满意的表面质量,需要进行精加工处理,例如通过粘接单独制造的壳体。
[0005] 这种方法的另一个缺点是,缠绕通常需要使用具有一定强度的芯模,因此希望能够重复使用。在这些情况下,该方法只能用于几何形状允许移除芯模的部件,这意味着,在距离芯模抽出端一定距离处,型腔内部横截面的尺寸不得超过该位置与该端之间任何横截面的尺寸,并且在实践中通常需要模具具有一定的锥度。因此,这种方法不能用于例如储罐或整个风电机组叶片。
[0006] 现有技术中还已知,风电机组叶片可以通过一种方法制造,其中叶片通常由两个半壳体构成,这些半壳体通过粘接在叶片的前缘和后缘处连接。半壳体通常由一根或多根梁在叶片型腔内部支撑,这些梁也通过粘接与半壳体连接,其中,例如,梁可以制成U形或I形,使得这些梁的翼缘与半壳体形成接触面,或者,例如,梁可以通过缠绕制造,使得缠绕梁外表面的一部分与半壳体形成接触面。半壳体例如可以由干纤维材料制成,通过手工铺设、真空灌注或类似方式供应树脂,或者它们可以由预浸料制成,其中纤维材料预先浸渍有树脂,并通过热、紫外线照射或类似作用使其固化。在其他实施例中,梁和/或半壳体由热塑性材料制成,例如通过使用耐温纤维材料和热塑性材料的组合纤维材料,并且在铺设后将纤维材料加热到热塑性材料熔化的温度,从而在成品层压板中充当树脂。
[0007] 然而,这种方法存在一个问题,即难以确保在结构内部为半壳体之间的相互连接以及梁与半壳体连接而形成的胶接接头的质量令人满意。这部分是由于材料技术方面的基本问题,部分是由于更具体的制造问题。 [0008] The fundamental problems regarding material technology may summarizingly be described as consequences of the impossibility of having the same material properties in the glue as in the rest of the blade. The reason for this is that the general material properties in the blade shells and the laminates of the possible beams are determined by the fibre reinforcement, which normally has rigidity several orders of magnitude higher than that of the resin, whereby the properties of the resin has minimal significance for the rigidity of the finished laminate. Conversely, the glue is normally made as pure resins (which may consist of other plastics than those used in the laminates) or as mixtures of resins and fillers but without fibre reinforcement. The result is that the elastic modulus of the glue typically deviates an order of magnitude, often several orders of magnitude, from the parts joined with the glue. To this comes that glue materials are often brittle and may therefore be vulnerable to local moments tending to open the glue joint, socalled peeling. Such local moments will particularly occur by very large loads on the blade, where non-linear effects may imply the blade cross-section changing its shape. By virtue of glue materials normally having relatively brittle properties, there may be the subsequent danger that cracks in glue joints propagate far beyond the area in which the original overloads have occurred. [0009] Among the manufacturing problems, one of the essential is that the glue joints are provided at leading and trailing edge and between beam and shell, so that a glue joint is established on the unprepared surface at the inner side of the shell laminate. The problem of this joint is that the glue surface may only be defined within a certain large range of tolerance. To this comes that in the case of the trailing and leading edge bond the shell laminate has to be reduced towards the edge of the shell when, as e.g. in the case of windmill blades, the case is half-shells where the edges are abutting mutually inclining in order that the glue joint can have nearly uniform thickness. This reduction may not always be provided with the necessary tolerances why a real adaptation will require working of the assembly faces, which in turn will imply a large rise in the costs. Another problem is that the deformations arising in the blade shells in connection with small variations in the manufacturing process can give a varying gap inside the cavity of the item so that it may be difficult to ensure a complete filling of glue of the interspace between beam and shell. All these problems with tolerances have the result that glue joints generally may have varying cross-sections and fillings which in turn implies a risk of considerable stress concentrations in the glue and the adjoining blade shells and beams. Furthermore, it is a problem that most glue materials presupposes that the surfaces to be bonded are ground in advance with the associated problems of maintaining the necessary tolerances. Finally, the glue joints are usually difficult to inspect visually as well as they are difficult to inspect by NDT methods (non-destructive testing) due to the tapering laminate and the irregular geometry of the item.
[0010] It is also a problem with methods based on bonding individual parts of blades that even though individual sections of the blades may be produced in closed processes with small or no environmental loads, this is usually not the case with the bonding itself. Here, workers will usually be exposed to grind dust from dry grinding, partly because it is unfavourable to the subsequent gluing process to perform wet grinding and partly because they are exposed to contact with and/or vapours from the glue material itself, implying need for personal protective means.
[0008] 关于材料技术的基本问题,概括而言,可归结为胶水与叶片其他部分的材料性能无法保持一致所带来的后果。其原因是,叶片蒙皮和可能存在的梁的层压板的整体材料性能由纤维增强材料决定,而纤维增强材料的刚度通常比树脂高几个数量级,因此树脂的性能对成品层压板的刚度影响极小。相反,胶水通常由纯树脂(可能包含与层压板中使用的不同塑料)或树脂与填料的混合物制成,但不含纤维增强材料。结果是,胶水的弹性模量通常与胶接部件相差一个数量级,甚至几个数量级。此外,胶水材料通常很脆,因此容易受到局部力矩的影响,这些力矩倾向于使胶接接头张开,即所谓的剥离。这种局部力矩特别会在叶片承受非常大的载荷时发生,此时非线性效应可能导致叶片横截面改变形状。由于胶水材料通常具有相对脆的特性,因此存在后续危险,即胶接接头中的裂纹可能会远远超出原始过载发生的区域。 [0009] 在制造问题中,一个关键问题是胶接接头位于前缘和后缘以及梁与蒙皮之间,这样,胶接接头就建立在蒙皮层压板内侧未经准备的表面上。这个接头的问题在于,胶接表面只能在一定的较大公差范围内定义。此外,在后缘和前缘粘合的情况下,当叶片(例如风电机组叶片)是半壳结构,边缘相互倾斜对接时,蒙皮层压板必须向叶片边缘逐渐减薄,以便胶接接头能够具有接近均匀的厚度。这种减薄可能无法始终满足必要的公差要求,因此实际的适应性调整将需要对装配面进行加工,这反过来会导致成本大幅增加。另一个问题是,制造过程中微小变化导致的叶片蒙皮变形可能导致部件内部空腔的间隙不一,从而难以确保梁与蒙皮之间间隙的胶水完全填充。所有这些公差问题导致胶接接头通常可能具有变化的横截面和填充,这反过来意味着胶水以及相邻的叶片蒙皮和梁中存在相当大的应力集中风险。此外,一个问题是大多数胶水材料都预设待粘合表面需要预先打磨,这带来了保持必要公差的相关问题。最后,由于层压板的锥形结构和部件的不规则几何形状,胶接接头通常难以进行目视检查,也难以通过无损检测(NDT)方法进行检查。 [0010] 基于叶片各部分粘合的方法还存在一个问题:尽管叶片的各个部分可以在封闭过程中生产,环境负荷很小或没有,但粘合本身通常并非如此。在这种情况下,工人通常会接触到干磨产生的研磨粉尘,部分原因是湿磨不利于后续的胶合过程,部分原因是他们会接触到胶水材料本身和/或其挥发物,这意味着需要个人防护措施。
Summary of the Invention
[0011] The purpose of the invention is to provide a method for making windmill blades of composite materials so that these may be manufactured in a closed process and mainly in one piece without any glue joints.
[0012] This is achieved with a method of the kind indicated in the introduction, which is peculiar in that the blade is made in one piece in a closed mould and, depending on the type of composite material, possibly also all of or parts of the matrix material, are placed around at least one mould core consisting of an external part of flexible material, that an outer mould part is closed around mould core and possible matrix material, that fibre reinforcement and matrix material are brought into the union relevant for the selected composite material, and that at least a part of the internal part of the mould core is then taken out of the finished windmill blade.
[0013] Several advantages are attained by this method compared with prior art methods.
[0014] By making the blade in one piece, where a substantial part of the outer side is an impression of one or more outer mould parts there is achieved the advantage that by using gelcoat in the mould or by a subsequent simple surface, the blade surface may appear in the quality required with regard to aerodynamic efficiency and aesthetic impression.
[0015] By making the blade in one piece without any glue joints, the prior art problems with glue joints, including problems with tolerances of glue joint dimensions and the difficulties with subsequent inspection of the quality of the glue joints, are eliminated.
[0016] By making the blade in one piece in a closed process, the workers' exposure to possible environmentally hazardous substances in the composite material is eliminated, so that the need for personal protective
means may be reduced to an absolute minimum. [0017] By making the blade in a sandwich construction with a core material which largely runs continuously around the cross-sectional profile of the blade, there is achieved a particularly advantageous combination of production technique and properties of the finished product. The core material may thus be used as evacuation and flow duct by a vacuum based process, and the continuous process ensures uniform cross-sectional properties without disadvantageous transitions between sandwich and solid structure in highly loaded areas. The continuous core material and the real separation of the load bearing part of the laminate in an outer and an inner section furthermore provides the constructional advantage that a possible crack formation in one (outer or inner) laminate only implies a very small risk of propagation to the other laminate. Hereby is achieved a hitherto unknown redundancy of the structure.
[0011] 本发明的目的是提供一种制造复合材料风电机组叶片的方法,以便这些叶片可以在封闭工艺中主要以一体成型的方式制造,而无需任何胶合接头。
[0012] 这通过引言中指出的方法实现,其特点在于叶片在封闭模具中一体成型,并且,根据复合材料的类型,可能还有全部或部分的基体材料,被放置在至少一个由柔性材料外部部分组成的模具型芯周围;一个外部模具部件围绕模具型芯和可能的基体材料闭合;纤维增强材料和基体材料被引入到与所选复合材料相关的结合中;并且模具型芯的内部部分至少一部分随后从制成的风电机组叶片中取出。
[0013] 与现有技术方法相比,通过这种方法获得了多项优点。
[0014] 通过一体成型制造叶片,其中外部的很大一部分是一个或多个外部模具部件的印模,从而获得了以下优点:通过在模具中使用胶衣或通过随后的简单表面处理,叶片表面可以在气动效率和美学印象方面呈现所需的质量。
[0015] 通过一体成型制造叶片,而无需任何胶合接头,消除了现有技术中胶合接头的问题,包括胶合接头尺寸公差的问题以及随后检查胶合接头质量的困难。
[0016] 通过在封闭工艺中一体成型制造叶片,消除了工人接触复合材料中可能存在的环境有害物质的风险,从而可以将对个人防护用品的需求降至最低。
[0017] 通过以夹层结构制造叶片,其中芯材大致连续地围绕叶片的横截面轮廓延伸,从而实现了生产技术和成品性能的特别有利组合。因此,芯材可以通过基于真空的工艺用作抽空和流动管道,并且连续工艺确保了均匀的横截面性能,在高载荷区域没有夹层结构和实体结构之间的不利过渡。连续的芯材以及层压板承载部分在外层和内层之间的实际分离,此外还提供了结构上的优点,即在一个(外层或内层)层压板中可能出现的裂纹形成仅意味着传播到另一个层压板的风险非常小。由此实现了结构前所未有的冗余性。
The Drawing
[0018] In the following, the method will be explained in detail as reference is made to the Figures. Figures 1 - 2 provides examples of prior art, and Figure 3 indicates a blade made in accordance with the invention. With the Figures 4 - 11, the method is explained in an embodiment where the laminate is made of thermosetting plastic by vacuum injection.
下文将结合附图详细解释该方法。图1-2示出了现有技术的示例,而图3示出了根据本发明制造的叶片。结合图4-11,在一个实施例中解释了该方法,其中层压件通过真空注射由热固性塑料制成。
Description of Embodiments实施例描述
[0019] Fig. 1 shows a windmill blade made according to a usual method. A beam 1 is made by winding around a mandrel which later is taken out of the beam. Around the beam is glued two half-shells 2 and 3. Each halfshell consists of an outer laminate 4, a sandwich core 5, which e.g. can be made in balsa wood or PVC foam, and an inner laminate 6. The half-shells are fastened by glue joints at the leading edge 7, at the trailing edge 8, and against the beam 9. A blade made according to this usual method initially has three main parts, namely the beam 1 and the two half-shells 2 and 3. According to the circumstances, these main parts may be supplemented with further main parts, e.g. at the root of the blade, for forming transition to pitch bearing and/or rotor hub.
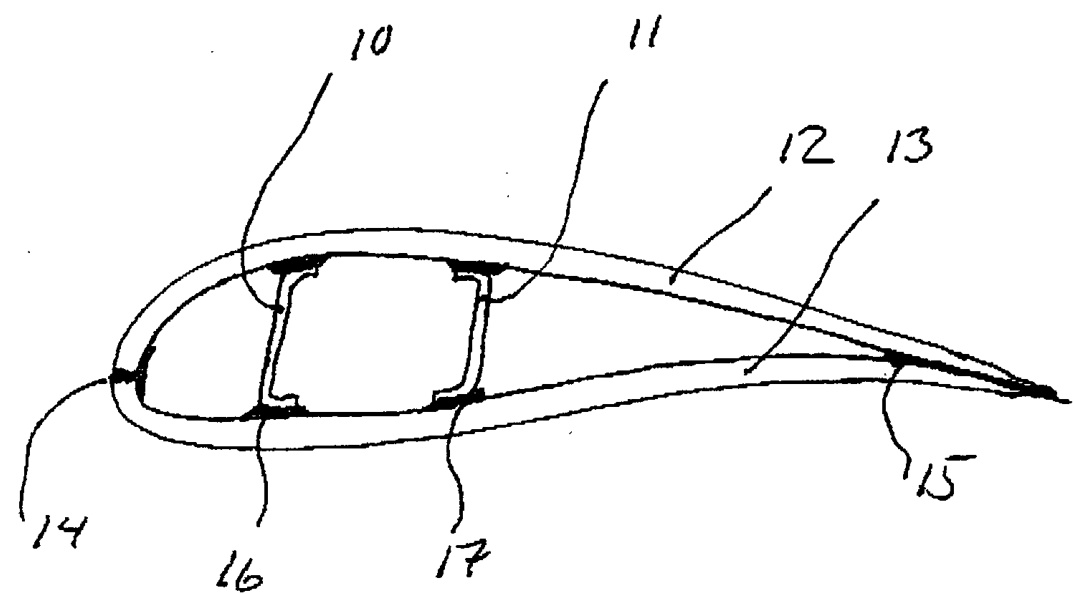
[0020] Fig. 2 shows a windmill blade made according to another usual method. Two beams 10 and 11 are made by moulding in separate moulds. The two beams are joined with two half-shells 12 and 13. The half-shells are fastened by glue joints at the leading edge 14, at the trailing edge 15, and against the beams 16 and 17. At the outset, a blade made according to this prior art method has four main parts, namely the beams 10 and 11 and the two half-shells 12 and 13. Depending on the circumstances, these main parts may be supplemented with further main parts, e.g. at the root of the blade, for forming transition to pitch bearing and/or rotor hub.
[0021] Fig. 3 shows a windmill blade made by the method according to the invention. The blade is an integrated unit, which is constituted by an outer shell 18, a sandwich core 19, an inner shell 20 and a shear web 21. In other sections, the blade may be made with plural shear webs or completely without webs.
[0022] Fig. 4 shows a cross-section of a mould part suited for making windmill blades with the method according to the invention, where the laminate is made by vacuum injection of thermosetting plastic. The mould part 22 is made as a negative impression of a part of the external surface of the blade; as an example here is shown the section termed the pressure side, which during operation of the windmill largely faces the wind. The mould part 22 may be treated with a suited release agent on the surface 23 on which the blade in moulded. The mould part is provided with closure edges 24 with which tightness through abutment against other mould parts may be achieved. The mould part may be achieved with an integrated temperature regulating system 25 with which the temperature of the blade laminate may be changed during setting. The mould part 22 may be composed of several parts with joints that are to achieve tightness.
[0023] Fig. 5 shows a first step in making windmill blades by the method according to the invention. An outer layer of fibre material 26 is laid in the mould part 22, e.g. mats or web of glass fibre or carbon fibre. Some of the outer layer of fibre material may e.g. extend out beyond the closure edge 24 at the leading edge 27. Upon at least a part of the outer layer of fibre material 26 there is provided a core material 28 that e.g. may be made in balsawood or PVC foam. At one or more suited places, here indicated by the leading edge 27, is provided one or more flow pipes 29, or other kinds of apertures are made along the blade. Besides the core material 28, which is placed upon the outer layer of fibre material 26, other core parts 30 may be provided, entirely or partly enclosed by the fibre material 26. At least a part of the surface of the fibre material 26, the core material 28, the possible flow pipe 29 and possible other core parts 30, are then covered by an inner layer of fibre material 31. This inner layer of fibre material 31 may in the same way as the outer layer of fibre material 26 entirely or partly extend beyond the closure edge 24. The flow pipe 29 may be provided with holes or saw grooves 32, or in other ways there may be provided flow ducts for resin from the interior of the flow pipe 29 to the core material 28, to the outer layer of fibre material 26 and to the inner layer of fibre material 31. The core material 28 and possible other core parts 30 may be provided with tracing 33, or flow paths for resin between the core material 28 and at least one of the two layers 26 and 31 may be provided. The core material 28 and possible other core parts 30 may be provided with borings or through-going cuttings 34, or flow ducts for resin between the two surfaces of core material 28 may be provided in other ways.
[0019] 图1显示了根据常规方法制造的风电机组叶片。梁1通过缠绕在芯棒上制成,芯棒随后从梁中取出。在梁周围粘合有两个半壳体2和3。每个半壳体由外层层压板4、夹层芯材5(例如可用轻木或PVC泡沫制成)和内层层压板6组成。半壳体通过胶接接头在前缘7、后缘8以及与梁9连接处固定。根据这种常规方法制造的叶片最初有三个主要部件,即梁1和两个半壳体2和3。根据具体情况,这些主要部件可以补充其他主要部件,例如在叶片根部,用于形成与变桨轴承和/或风轮轮毂的过渡。
[0020] 图2显示了根据另一种常规方法制造的风电机组叶片。两根梁10和11通过在单独的模具中成型制成。这两根梁与两个半壳体12和13连接。半壳体通过胶接接头在前缘14、后缘15以及与梁16和17连接处固定。最初,根据这种现有技术方法制造的叶片有四个主要部件,即梁10和11以及两个半壳体12和13。根据具体情况,这些主要部件可以补充其他主要部件,例如在叶片根部,用于形成与变桨轴承和/或风轮轮毂的过渡。
[0021] 图3显示了根据本发明方法制造的风电机组叶片。该叶片是一个集成单元,由外壳体18、夹层芯材19、内壳体20和剪力腹板21构成。在其他截面中,叶片可以制成具有多个剪力腹板或完全没有腹板。
[0022] 图4显示了适用于根据本发明方法制造风电机组叶片的模具部件的横截面,其中层压板通过热固性塑料的真空注射制成。模具部件22是叶片外部表面一部分的负模;此处以受压侧为例,该侧在风电机组运行期间主要面向风。模具部件22可在其上成型叶片的表面23上涂覆合适的脱模剂。模具部件设有闭合边缘24,通过与其他模具部件的对接可实现密封。模具部件可配备集成式温度调节系统25,用于在固化过程中改变叶片层压板的温度。模具部件22可由多个部件组成,这些部件之间具有旨在实现密封的接头。
[0023] 图5显示了根据本发明方法制造风电机组叶片的第一步。将一层外层纤维材料26铺设在模具部件22中,例如玻璃纤维或碳纤维毡或网。部分外层纤维材料例如可以延伸超出前缘27处的闭合边缘24。在外层纤维材料26的至少一部分上设置有芯材28,例如可用轻木或PVC泡沫制成。在一个或多个合适的位置(此处由前缘27指示)设置有一个或多个流道管29,或沿叶片制作其他类型的孔口。除了放置在外层纤维材料26上的芯材28之外,还可以设置其他芯部件30,这些芯部件可完全或部分被纤维材料26包围。然后,纤维材料26、芯材28、可能的流道管29和可能的其他芯部件30的至少一部分表面被一层内层纤维材料31覆盖。这层内层纤维材料31可以与外层纤维材料26一样,完全或部分延伸超出闭合边缘24。流道管29可以设有孔或锯槽32,或者以其他方式提供树脂从流道管29内部流向芯材28、外层纤维材料26和内层纤维材料31的流道。芯材28和可能的其他芯部件30可以设有导流槽33,或者在芯材28与两层26和31中的至少一层之间可以提供树脂流道。芯材28和可能的其他芯部件30可以设有钻孔或贯通切口34,或者以其他方式在芯材28的两个表面之间提供树脂流道。
[0024] Fig. 6 shows a subsequent step in the making of windmill blades with the method according to the invention. On the inner layer of fibre material 31, the mould core 35 and possible shear webs 36 are placed. In the shown example, a mould core in two parts 37 and 38 is utilized that each may be divided into subparts. A core part 37 may e.g. consist of a firm inner part 39 that e.g. may be made of wood or composite material. The firm inner part 39 may be surrounded on at least a part of its outer side of a flexible outer part 40, which e.g. may be made in foam rubber. Each core part 37 is surrounded by a flexible, airtight membrane 41 that e.g. may be made of nylon or silicone rubber. The flexible membrane 41 may be treated with a suitable release agent. A shear web 36 may be made with an inner core part 42, which e.g. may be made of plywood, balsawood or PVC foam, and which at each side may have a core support part 43 in one or more parts, which e.g. may be made of plywood, balsawood or PVC foam. On each or both sides of the core parts 42 and 43, a fibre material 44 of e.g. glass or carbon can be placed. The fibre material 44 may
advantageously extend to some extent across the inner layer of fibre material 31, as well as it may extend across the core part 37. [0025] Fig. 7 shows a subsequent step in making windmill blades with the method according to the invention. Across the core part 35 and the fibre material 44 from the possible shear web or webs 36, an inner layer of fibre material 45 is laid that e.g. may be mats or web of glass or carbon fibre, which advantageously may be composed in the same way as the inner layer of fibre material 31 in the lower mould part 22. On top of at least a part of the inner layer of fibre material 45 there is provided a core material 46, that e.g. may be made in balsawood or PVC foam, and which advantageously may be shaped in the same way as the core material 28 in the lower mould part 22. In some cases, it will be advantageous to postpone the laying of the flow pipe 29 as described above in step 5 to this stage of the process. At least a part of the surface of the fibre material 45, the core material 46, the possible flow pipe 29 and possible other core parts 30 are then covered by an outer layer of fibre material 47. This outer layer of fibre material 47 may e.g. be mats or web of glass or carbon fibre, and may advantageously be composed in the same way as the outer layer of fibre material 26 in the lower mould part 22. In the process of laying the inner fibre material 45, core material 46 and outer fibre material 47, the parts of the outer layer of fibre material 26 and the inner layer of fibre material 31, which extend beyond the closure edge 24 after laying of the material in the mould part 22, are put together into the inner fibre material 45 and/or the outer fibre material 47, so that overlap of fibre material across the joint face 48 occurring at the closure edge 24 is achieved. These layers of fibre materials 26 and 31 that extend beyond the closure edge 24 after laying of the material in the mould part 22 may entirely or partly extend right to the trailing edge when they are laid upon the mould core 35, the fibre material 44 from the possible shear web or webs, and/or the core material
[0026] Fig. 8 shows the next step in making windmill blades by the method according to the invention. Across the outer layer of fibre material 47 there is disposed one or more mould parts 48 that are shaped as a negative impression of a part of the outer surface of the blade, here illustrated the part termed the suction side, and which during operation of the windmill largely faces away from the wind. The mould part 48 may be treated on the surface 49 on which the blade is moulded with a suited release agent. The mould part is provided with closure edges 50 with which tightness may be achieved against the first mould part 22. The mould part may be provided with an integrated temperature regulation system 25 with which the temperature of the laminate of the blade may be changed during setting. The mould part 48 may be composed of several parts with joints that are to attain tightness.
[0027] Fig. 9 shows the next step in making windmill blades by the method according to the invention. Between on the one hand the mould parts 22 and 48 and on the other hand the flexible membrane 41 around the mould core 35 there is a cavity 51. The cavity 51 is partly filled by the fibre materials 26, 31, 44, 45 and 47, the core materials 28, 42, 43, and 46, the flow pipe 29 and possible other core parts 30, as the cavities between the fibre and between the fibre and other parts are filled with air. Now, vacuum is applied to the cavity 51 so that at least a substantial part of the air staying between the parts in the cavity is evacuated. Thereby, fibre and core materials etc. are compressed in the cavity 51 as the flexible membrane 41 expands. In order to ensure good sealing, the surfaces between the closure edges 24 and 50 may advantageously be made with at least two sealing arrangements, an internal arrangement 52 and an external arrangement 53, so that between these arrangements there is provided a cavity 54 that may be subjected to vacuum separately from vacuum in the cavity 51, and which may advantageously be maintained at a lower absolute pressure than the cavity 51, whereby possible leakages from the surrounding air to the cavity 51 is prevented.
[0024] 图6显示了根据本发明方法制造风电机组叶片的后续步骤。在纤维材料内层31上,放置模具芯35和可能的剪力腹板36。在所示示例中,使用了由两部分37和38组成的模具芯,每个部分又可分为若干子部分。芯部37例如可由坚固的内芯39组成,该内芯例如可由木材或复合材料制成。坚固的内芯39在其外侧的至少一部分可由柔性外芯40包围,该柔性外芯例如可由泡沫橡胶制成。每个芯部37都由柔性、气密性膜41包围,该膜例如可由尼龙或硅橡胶制成。柔性膜41可用合适的脱模剂处理。剪力腹板36可由内芯部42制成,该内芯部例如可由胶合板、轻木或PVC泡沫制成,并且其两侧可具有一个或多个芯支撑部分43,该芯支撑部分例如可由胶合板、轻木或PVC泡沫制成。在芯部42和43的每一侧或两侧,可放置例如玻璃或碳纤维的纤维材料44。纤维材料44有利地可在一定程度上延伸穿过纤维材料内层31,并且也可延伸穿过芯部37。
[0025] 图7显示了根据本发明方法制造风电机组叶片的后续步骤。跨越芯部35和来自可能的剪力腹板36的纤维材料44,铺设一层纤维材料内层45,该内层例如可以是玻璃或碳纤维毡或网,其有利地可以与下模具部分22中的纤维材料内层31以相同方式构成。在纤维材料内层45的至少一部分顶部,设置有芯材46,该芯材例如可由轻木或PVC泡沫制成,并且其有利地可以与下模具部分22中的芯材28以相同方式成形。在某些情况下,将如上文步骤5所述的流管29的铺设推迟到本工艺阶段将是有利的。然后,纤维材料45、芯材46、可能的流管29和可能的其他芯部30的表面至少一部分被纤维材料外层47覆盖。该纤维材料外层47例如可以是玻璃或碳纤维毡或网,并且其有利地可以与下模具部分22中的纤维材料外层26以相同方式构成。在铺设内层纤维材料45、芯材46和外层纤维材料47的过程中,在模具部分22中铺设材料后超出闭合边缘24的纤维材料外层26和纤维材料内层31的部分,被整合到内层纤维材料45和/或外层纤维材料47中,从而实现在闭合边缘24处出现的接合面48上的纤维材料重叠。这些在模具部分22中铺设材料后超出闭合边缘24的纤维材料层26和31,当它们铺设在模具芯35、来自可能的剪力腹板的纤维材料44和/或芯材上时,可以完全或部分地延伸直至后缘。
[0026] 图8显示了根据本发明方法制造风电机组叶片的下一步骤。跨越纤维材料外层47,设置有一个或多个模具部分48,其形状是叶片外表面一部分的负形,此处所示为被称为吸力侧的部分,并且在风电机组运行期间主要背向风。模具部分48在叶片成型的表面49上可用合适的脱模剂处理。模具部分设有闭合边缘50,通过该边缘可与第一模具部分22实现密封。模具部分可设有集成温度调节系统25,通过该系统可在固化过程中改变叶片层压件的温度。模具部分48可由多个部分组成,这些部分之间的接缝需达到密封。
[0027] 图9显示了根据本发明方法制造风电机组叶片的下一步骤。在模具部分22和48与模具芯35周围的柔性膜41之间,存在一个腔体51。腔体51部分地被纤维材料26、31、44、45和47、芯材28、42、43和46、流管29以及可能的其他芯部30填充,因为纤维之间以及纤维与其他部件之间的空腔都充满了空气。现在,对腔体51施加真空,以便抽空腔体中部件之间存在的至少大部分空气。因此,随着柔性膜41的膨胀,纤维和芯材等在腔体51中被压缩。为了确保良好的密封,闭合边缘24和50之间的表面有利地可设置至少两种密封装置,即内部装置52和外部装置53,以便在这些装置之间提供一个腔体54,该腔体可独立于腔体51中的真空而进行抽真空,并且有利地可保持比腔体51更低的绝对压力,从而防止周围空气可能泄漏到腔体51中。
[0028] Fig. 10 shows the next step in making windmill blades by the method according to the invention. The closed mould, consisting of the mould parts 22 and 48 with the entire amount of fibre and core materials, mould cores etc., is now turned about its longitudinal axis, so that the flow pipe 29 assumes a position close to the lowest point in a cross-section of the closed mould. A connection 55 is established between the flow pipe 29 and a reservoir 56 with suitable resin 57 with the right mix ratio, e.g. polyester, vinyl ester or epoxy. The connection 55 that may be a pipe or a tube or combinations thereof, may be provided with a variable flow control valve 58, or in other ways there may be established means for controlling the flow rate in connection 55 to the flow pipe 29, e.g. in the form of pressure control of the space 59 over the resin 57. The connection 55 may be provided with a stop cock 60, or in other ways there may be established possibility of blocking the flow from the reservoir 56 through the connection 55, e.g. by the flow control valve 58 being able to shut the connection off completely. When the blade has the desired position, there is opened up for the flow in the connection 55, and injection is commenced as the resin flows into the cavity 51 under action of the pressure difference between the vacuum established in the cavity and the pressure on the resin 57. During the injection, the flow is regulated with the flow control valve 58, or in other ways, so that a controlled development of the fluid front 61 of the injected resin 62 is maintained with balance between regulated inflow and gravitation. The fluid front may e.g. be tried kept approximately horizontal so that the risk of blocking and confinement of larger or lesser amounts of residual air is minimized. [0029] Fig. 11 shows the next step in making windmill blades according to the invention. The flow front 61 has now reached the trailing edge of the blade, and resin now penetrates up into one or more overflow containers 63. When there is pure resin in the relevant overflow containers, the injection is terminated by the stop cock 60, or in other ways. The temperature regulating system 25 may be active during the whole or a part of the injection process, and particularly after finished injection it may be used to bring the injected laminated up to a temperature that enhances the setting process for the resin. Depending on the embodiment, the temperature regulating system may also be used for cooling mould and laminate, if the exothermic heat of the setting process is in danger of raising the temperature of mould and laminate to an undesired level. However, one may also completely omit a temperature regulating system in the mould and perform possible final setting in a separate process afterwards.
[0030] After finished setting, the moulds are opened and the finished blade is taken out.
[0031] Before or after the blade is taken out, the mould core 35 is removed. In the shown example there is used a mould core in two core parts 37 and 38. The front core part 37 may be removed in one piece in this example, whereas the rear core part 38 may advantageously be divided into subparts that are removed in the sequence which is most convenient with regard to geometry and handling. If a core part 37 consists of a firm internal part 39 surrounded by a flexible external part 40, which e.g. may be made of foam rubber and enclosed by a flexible, airtight membrane, over at least apart of its outer side, it may advantageous to apply vacuum on the flexible external part 40, whereby the airtight membrane 41 contracts and is released in relation to the cavity in the moulded blade. For this process, it may be an advantage that the flexible, airtight membrane 41 is constituted by plural layers so that possible adherence between the moulded blade and the airtight membrane is limited to the outermost layer of the membrane. It may also be an advantage to provide an airtight layer between the firm internal part 39 and the flexible external part 40 so that vacuum is limited to the flexible external part 40, and larger or lesser pressure loads are not applied on the firm internal part 39.
[0032] In the above, the process is described with the use of a flow pipe 29 which is integrated in the leading edge of the blade. The flow pipe may very well be disposed outside the blade itself, e.g. in a recess in the mould, and this recess may constitute the flow duct so that a separate pipe is not necessary. Versions with more flow pipes and flow ducts integrated in the blade as well as disposed externally as continuous recesses or tubes in the mould parts may also be envisaged, or partly or entirely in the shape of flow pipes with discrete inlets at the inner sides of the mould parts.
[0033] In the above is described a practical embodiment of the method, where the fibre material is laid in dry conditions, and where the resin is supplied by vacuum injection. In other practical embodiments, a socalled prepeg is laid, where the fibre materials are impregnated with resin in advance, which, after being applied vacuum, is brought to set by the action of heat, UV irradiation, or similar, or fibre materials that are combinations of temperature resisting fibre materials and thermoplastic may be laid, and where the fibre material after laying may be brought to a temperature where the thermoplastic material melts and thereby acts as resin in the finished laminate.
[0034] Combinations of the practical embodiment of the method with fibre material laid in dry condition and where a part of laid material is in form of finished fibre reinforced parts, e.g. previously moulded part for the blade root or longitudinally pultruded profiles. Combinations of materials in the laying may also be envisaged, which otherwise in prior art methods are held separate to each other. E.g. mats in prepeg may also be envisaged where the integrated resin contributes to the injection of the surrounding dry fibre material to a certain degree, and where the amount of resin needed for complete impregnation of the laminate is provided by vacuum injection as described above.
[0028] 图10显示了根据本发明方法制造风电机组叶片的下一步。由模具部件22和48以及全部纤维和芯材、模具型芯等组成的闭合模具,现在绕其纵轴转动,使得流道管29在闭合模具的横截面中处于接近最低点的位置。在流道管29与装有合适配比的树脂57(例如聚酯、乙烯基酯或环氧树脂)的储液罐56之间建立连接55。连接55可以是管道或管子或其组合,可以配备可变流量控制阀58,或者以其他方式建立用于控制连接55到流道管29的流量的装置,例如通过控制树脂57上方空间59的压力。连接55可以配备截止阀60,或者以其他方式建立阻断从储液罐56通过连接55的流动的可能性,例如通过流量控制阀58能够完全关闭连接。当叶片处于所需位置时,打开连接55中的流动,并开始注射,树脂在型腔中建立的真空与树脂57上的压力之间的压差作用下流入型腔51。在注射过程中,通过流量控制阀58或其他方式调节流量,使得注入树脂62的流体前沿61的受控发展得以维持,并在受控流入和重力之间保持平衡。流体前沿例如可以尝试保持近似水平,从而最大限度地减少阻碍和滞留或多或少残余空气的风险。
[0029] 图11显示了根据本发明制造风电机组叶片的下一步。流动前沿61现已到达叶片的后缘,树脂现在渗透进入一个或多个溢流容器63中。当相关溢流容器中出现纯树脂时,通过截止阀60或其他方式终止注射。温度调节系统25可以在整个注射过程或部分注射过程中处于活动状态,特别是在注射完成后,它可用于将注入的层压件提升到有助于树脂固化过程的温度。根据实施方式,如果固化过程的放热热量有使模具和层压件温度升高到不希望的水平的危险,温度调节系统也可用于冷却模具和层压件。然而,也可以完全省略模具中的温度调节系统,并在之后通过单独的工艺进行可能的最终固化。
[0030] 固化完成后,打开模具并取出成品叶片。
[0031] 在取出叶片之前或之后,移除模具型芯35。在所示示例中,使用了由两个型芯部件37和38组成的模具型芯。在此示例中,前型芯部件37可以整体移除,而后型芯部件38可以有利地分成若干子部件,并按照几何形状和操作最方便的顺序移除。如果型芯部件37由坚固的内部部件39和被柔性外部部件40包围的柔性外部部件40组成,例如该柔性外部部件40可以由泡沫橡胶制成,并至少在其外侧的一部分被柔性、气密膜包围,那么对柔性外部部件40施加真空可能是有利的,从而使气密膜41收缩并相对于模制叶片中的型腔释放。对于此过程,柔性气密膜41由多层构成可能是一个优点,这样模制叶片与气密膜之间可能的粘附仅限于膜的最外层。在坚固的内部部件39和柔性外部部件40之间提供气密层也可能是一个优点,这样真空仅限于柔性外部部件40,并且不会对坚固的内部部件39施加或大或小的压力载荷。
[0032] 在上文中,该工艺描述了使用集成在叶片前缘的流道管29。流道管也可以很好地设置在叶片本身之外,例如在模具的凹槽中,并且该凹槽可以构成流道,从而不需要单独的管道。也可以设想具有更多流道管和流道集成在叶片中以及作为连续凹槽或管子外部设置在模具部件中的版本,或者部分或完全以在模具部件内侧具有离散入口的流道管的形式。
[0033] 上文描述了该方法的一种实际实施方式,其中纤维材料在干燥条件下铺设,并且树脂通过真空注射供应。在其他实际实施方式中,铺设所谓的预浸料,其中纤维材料预先用树脂浸渍,在施加真空后,通过热、紫外线照射或类似作用使其固化;或者可以铺设耐温纤维材料和热塑性材料的组合纤维材料,并且铺设后纤维材料可以被加热到热塑性材料熔化并因此在成品层压件中充当树脂的温度。
[0034] 该方法的实际实施方式可以与干燥条件下铺设纤维材料相结合,其中一部分铺设材料是成品纤维增强部件的形式,例如预先模制的叶片根部部件或纵向拉挤型材。也可以设想铺设材料的组合,这些材料在现有技术方法中通常是相互分离的。例如,也可以设想预浸料中的毡片,其中集成的树脂在一定程度上促进了周围干燥纤维材料的注射,并且层压件完全浸渍所需的树脂量通过如上所述的真空注射提供。
Claims
- A method for making a windmill blade of composite materials which include a fibre reinforced matrix material, the improvement comprising that the blade is made in one piece in a closed mould and comprising steps that provide:
- a mould core with a flexible external core part and an internal, firm or workable core part, and outer mould parts arranged to close around the mould core for formation of a mould cavity there between,
- that composite material and possible core inserts are laid on an outer mould part and/or the mould core,
- that the outer mould parts are closed around the mould core and around the composite material placed in the mould cavity,
- that the composite material is set,
- that the outer mould parts are removed, and that the mould core is taken out of the shape permanent blade before or after removing the outer mould parts.
-
A method according to claim 1, wherein some of the required matrix material is used in connection with the reinforcing fibre when laying the composite material and where additional matrix material is added after closing the mould.
-
A method according to claim 1 or 2, wherein the composite material is laid around a core material for forming the blade as a sandwich structure, where the core material is used for evacuation and flow at vacuum formation of the blade as the mould cavity is subjected to vacuum whereby air is evacuated simultaneously with composite materials and possible core inserts being pressed against the inner side of the outer mould parts due to the flexible external core part of the mould core, and where the matrix material is injected formation of the mould cavity by vacuum.
-
A method according to claim 3, wherein the material is injected through a duct disposed at a vertical underside of the mould cavity and with a flow regulated for controlling an upwardly advancing fluid front of the matrix material so as to avoid confinement of air in the mould cavity.
-
A method according to claim 3 or 4, wherein an outer layer of fibre material extending beyond a side edge of the mould cavity is laid on a first outer mould part, where at least one flow pipe is placed at the said side edge for injecting matrix material, where a layer of core material and possible other core parts are placed, where an inner layer of fibre material extending beyond the said side edge is laid, where the mould core is placed in the layers that are laid, where the fibre material extending beyond the side edge is folded in over the mould core and the flow pipe, where a layer of core material and an outer layer of fibre material are laid on the mould core, where a second outer mould part is placed in close contact with the first outer mould part, where vacuum is applied to the mould cavity and where the matrix material is injected via the flow pipe.
-
A method according to any preceding claim, wherein core inserts are disposed between the layers of fibre material and are taken out of the mould together with the composite material for making a blade in which such inserts constitute structural elements in the finished blade.
-
A method according to any preceding claim, wherein thermal setting is used, and wherein the temper- 5 ature in the composite materials of the blade are changed during the setting by using a temperature control system in at least one of the mould parts.
-
A method according to any of claims 3 - 7, wherein 10 the core material is provided with through-going passages used as ducts for fluid matrix material between the two layers of fibre material.
-
A method according to any preceding claim, where- 15 in injection of the matrix material is terminated when fluid matrix material is pressed out of apertures at the upwardly facing side edge of the blade.
-
A method according to any preceding claim, where- 20 in the mould core is provided as a plurality of separate sections.
一种制造包含纤维增强基体材料的复合材料风力机叶片的方法,其改进之处在于,该叶片在闭合模具中一体成型,并且包括以下步骤:
- 提供一个模具型芯,其具有柔性外部型芯部分和内部坚固或可加工的型芯部分,以及围绕模具型芯闭合以在其间形成模腔的外部模具部分;
- 将复合材料和可能的型芯嵌件铺设在外部模具部分和/或模具型芯上;
- 外部模具部分围绕模具型芯和放置在模腔中的复合材料闭合;
- 复合材料固化;
- 外部模具部分被移除,并且在移除外部模具部分之前或之后,将模具型芯从形状永久的叶片中取出。
-
根据权利要求1所述的方法,其中,在铺设复合材料时,将部分所需基体材料与增强纤维一起使用,并且在模具闭合后添加额外的基体材料。
-
根据权利要求1或2所述的方法,其中,复合材料围绕芯材铺设以将叶片形成为夹层结构,其中,当模腔受到真空时,芯材用于叶片真空成型时的排气和流动,从而由于模具型芯的柔性外部型芯部分,空气在复合材料和可能的型芯嵌件被压向外部模具部分内侧的同时被排出,并且基体材料通过真空注入模腔。
-
根据权利要求3所述的方法,其中,材料通过设置在模腔垂直下侧的管道注入,并且流速受到调节,以控制基体材料向上推进的流体前沿,从而避免空气滞留在模腔中。
-
根据权利要求3或4所述的方法,其中,将超出模腔侧边缘的纤维材料外层铺设在第一外部模具部分上,其中,至少一根流体管道放置在该侧边缘处用于注入基体材料,其中,放置一层芯材和可能的其他芯材部分,其中,铺设一层超出该侧边缘的纤维材料内层,其中,模具型芯放置在已铺设的层中,其中,超出侧边缘的纤维材料折叠在模具型芯和流体管道上方,其中,一层芯材和一层纤维材料外层铺设在模具型芯上,其中,第二外部模具部分与第一外部模具部分紧密接触放置,其中,对模腔施加真空,并且基体材料通过流体管道注入。
-
根据前述任一权利要求所述的方法,其中,型芯嵌件设置在纤维材料层之间,并且与复合材料一起从模具中取出,以制造一个叶片,其中此类嵌件在成品叶片中构成结构元件。
-
根据前述任一权利要求所述的方法,其中,采用热固化,并且在固化过程中,通过在至少一个模具部分中使用温度控制系统来改变叶片复合材料的温度。
-
根据权利要求3至7中任一项所述的方法,其中,芯材设有贯通通道,用作两层纤维材料之间流体基体材料的管道。
-
根据前述任一权利要求所述的方法,其中,当流体基体材料从叶片向上侧边缘的孔口中挤出时,基体材料的注入终止。
EP 1 310 351 A1
<html>| DOCUMENTSCONSIDEREDTOBERELEVANT | ||||
| Category | Citationofdocumentwithindication,whereappropriate, ofrelevantpassages | Relevant toclaim | CLASSIFICATIONOF THE APPLICATION (IntCI.7) | |
| X A A A A | NL 8 800 301 A(AKZ0NV) 1 September 1989 (1989-09-01) *[ page 2, 1ine 6, paragraph 2 * NL 8 104 019 A (JAN B0S) 16 March 1983 (1983-03-16) * page 3, line 29 - 1ine 33; claim 9; figures * US 5 304 339 A (LE C0MTE AD0LF) 19 Apri1 1994 (1994-04-19) column 1, line 23; figures * *( column 4, 1ine 18 - 1ine 38; claims 1,2 * FR 2 555 501 A (SEPTEM SA) 31 May 1985 (1985-05-31) * page 2, line 24 - page 4, line 5 * EP 0 722 825 A(B0EING C0) 24 Ju1y 1996 (1996-07-24) | 1-7,9,10] B29D31/00 B29C70/48 8 1,8 1-8 2 | ||
| * the whole document * | TECHNICAL FIELDS SEARCHED (Int.Cl.7) B29D B29C | |||
| Thepresentsearchreport hasbeen drawn upforall claims | ||||
| Place of search Date ofcompletion of thesearch THE HAGUE | 17 February 2003 | Examiner Van Wallene, A | ||
| CATEGORYOFCITEDDOCUMENTS T:theoryorprincipleunderlying theinvention X:particularlyrelevant if takenalone afterthefilingdate Y:particularlyrelevantifcombinedwithanother D:document cited in the application documentofthesamecategory L:documentcitedforotherreasons A:technologicalbackground O:non-written disclosure &:memberof thesamepatentfamily,corresponding P:intermediatedocument document | E: earier patent document, but published on, or | |||
ANNEX TO THE EUROPEAN SEARCH REPORT ON EUROPEAN PATENT APPLICATION NO.
This annexlists the patent familymembersrelating to thepatentdocuments cited in the above-mentioned European searchreport. Themembersareascontainedin theEuropeanPatentOfficeEDPfileon The European Patent Ofice is in no way liable for these particulars which are merely given for the purpose of information.
17-02-2003
<html>| Patent document cited in search report | Publication date | Patent family member(s) | Publication date | |
| NL 8800301 A | 01-09-1989 | NONE | ||
| NL 8104019 A | 16-03-1983 | NONE | ||
| US 5304339 A | 19-04-1994 | US NL | 5096651 A 9200963 A | 17-03-1992 01-07-1993 31-05-1985 |
| FR 2555501 A EP 0722825 A | 31-05-1985 | FR EP WO US | 2555501 A1 0162097 A1 8502365 A1 | 27-11-1985 06-06-1985 22-10-1996 |
| 24-07-1996 | EP US | 5567499 A 0722825 A2 5851336 A | 24-07-1996 22-12-1998 | |












