81 KiB
(51) International Patent Classification: B29D 99/00 (2010.01) F03D 1/06 (2006.01) B29C 70/48 (2006.01) B29C 70/34 (2006.01) B29C 70/44 (2006.01) B29C 33/50 (2006.01) B29C 70/86 (2006.01) B29L 31/08 (2006.01)
(21) International Application Number:
(10)International Publication Number WO 2021/122269A1
(72) Inventors: OLESEN, Bendt; Julivej 30, 9270 Klarup (DK). TRUONG, Yannick Cao van; Hadsundvej 7, 9000 Aalborg (DK). COLFELT, Christian Nicholas Sebber; Rosengarden 36, 2TH, 9200 Aalborg SV (DK). PEDERSEN, Dan; Stationsvej 9, 9490 Pandrup (DK). THOMSEN, Anders Haslund; Blaesborgvej 61, 9220 Aalborg (DK).
(74) Agent: ASPACHER, Karl-Georg: Postfach 22 16 34, 80506 Munchen (DE).
(30) Priority Data: 19218082.6 19 December 2019 (19.12.2019) EP (71) Applicant: SIEMENS GAMESA RENEWABLE ENERGY A/S [DK/DK]; Borupvej 16, 7330 Brande (DK).
(81) Designated States (unless otherwise indicated, for every kind of national protection available): AE, AG, AL,AM, AO,AT,AU,AZ,BA,BB,BG,BH,BN,BR,BW,BY, BZ, CA, CH, CL, CN, CO, CR, CU, CZ, DE, DJ, DK, DM, DO, DZ,EC, EE,EG, ES, FI, GB, GD, GE, GH, GM, GT, HN, HR, HU, ID, IL, IN, IR, IS, IT, JO, JP, KE, KG, KH, KN, KP, KR, KW, KZ, LA, LC, LK, LR, LS, LU, LY, MA, MD, ME, MG, MK, MN, MW, MX, MY, MZ, NA, NG, NI, NO, NZ, OM, PA, PE, PG, PH, PL, PT, QA, RO, RS, RU, RW,

(54) Title: METHOD FOR MANUFACTURING A WIND TURBINE BLADE
(57) Abstract: A method for manufacturing a wind turbine blade, comprising the steps of: - arranging an upper mould (8) comprising a pre-casted fibre lay-up (9") on a lower mould (23) comprising a dry fibre lay-up (24) and a mould core (46), - applying vacuum to a space (63) between the upper and lower moulds (8, 23) and the mould core (46), - infusing at least the dry fibre lay-up (24') and a connection region (66, 67) between the dry fibre lay-up (24') and the pre-casted fibre lay-up (9") with a resin (65), and curing the resin (65). By having the pre-casted fibre lay-up in the upper mould, the packing and positioning of dry composite materials on top of themouldcoreis avoided.
一种制造风电机组叶片的方法,包括以下步骤:
- 将包括预铸造纤维铺层
(9")的上模具 (8) 布置在包括干纤维铺层 (24) 和模具芯 (46) 的下模具 (23) 上, - 对上模具和下模具 (8, 23) 以及模具芯 (46) 之间的空间 (63) 施加真空,
- 用树脂 (65) 注入至少干纤维铺层 (24') 以及干纤维铺层 (24') 和预铸造纤维铺层
(9")之间的连接区域 (66, 67),并固化树脂 (65)。 通过将预铸造纤维铺层设置在上模具中,避免了在模具芯顶部堆叠和定位干复合材料。 SA, SC, SD, SE, SG, SK, SL, ST, SV, SY,TH, TJ, TM, TN, TR, TT, TZ, UA, UG, US, UZ, VC, VN, WS, ZA, ZM, ZW.
(84) Designated States (unless otherwise indicated, for every kind of regional protection available): ARIPO (BW, GH, GM, KE,LR, LS, MW, MZ, NA, RW, SD, SL, ST, SZ, TZ, UG, ZM, ZW), Eurasian (AM, AZ, BY, KG, KZ, RU, TJ, TM), European (AL, AT, BE, BG, CH, CY, CZ, DE, DK, EE, ES, FI, FR, GB, GR, HR, HU, IE, IS, IT, LT, LU, LV, MC, MK, MT, NL, NO, PL, PT, RO, RS, SE, SI, SK, SM, TR), OAPI (BF, BJ, CF, CG, CI, CM, GA, GN, GQ, GW, KM, ML, MR, NE, SN, TD, TG).
Published:
with international search report (Art. 21(3)
Description
Method for manufacturing a wind turbine blade
The present invention relates to a method for manufacturing a wind turbine blade. One way to produce more power using a wind turbine under given wind conditions is to increase the size of the blades.
However, the manufacture of wind turbine blades is becoming increasingly difficult with increasing blade sizes. Currently, many wind turbine blades are made by premanufacturing parts of the blade separately, such as a pressure-side shell and a suction-side shell, and gluing the parts to each other. The parts are, for example, premanufactured by infusing composite materials such as glass fibres with a resin and curing the resin. However, the gluing process has many disadvantages. It is, for example, difficult to achieve a sufficient strength and robustness of the glueline. Furthermore, the method requires an exact positioning of very large parts within limited time, i.e. before the applied glue hardens.
In another method, disclosed in EP 1 310 351 Al, the blade is manufactured by packing composite materials for the entire blade, or for a lengthwise blade section, on a mandrel and by infusing and curing resin. Thereby, glue joints are avoided. However, packing and positioning of dry composite material on top of the - usually flexible - mandrel is challenging, in particular for very large blades. Furthermore, with increasing blade sizes, the volume required to be filled with resin by vacuum infusion is also increased, making the resin infusion more difficult.
It is one object of the present invention to provide an improved method for manufacturing a wind turbine blade.
Accordingly, a method for manufacturing a wind turbine blade is proposed. The method comprises the steps of:
-
arranging an upper mould comprising a pre-casted fibre lay-up on a lower mould comprising a dry fibre lay-up and a mould core,
-
applying vacuum to a space between the upper and lower moulds and the mould core,
-
infusing at least the dry fibre lay-up and a connection region between the dry fibre lay-up and the pre-casted fibre lay-up with a resin, and curing the resin.
By having the pre-casted fibre lay-up in the upper mould, the packing and positioning of dry composite materials on top of the mould core is avoided.
Further, pre-casting the fibre lay-up in the upper mould is preferably done by packing a dry fibre lay-up in the upper mould turned upside down, infusing resin and curing. Since the upper mould is turned upside down, packing the fibre ma
terial is done also in the upper mould towards a mould with a well-defined geometry instead of towards a flexible mould core. Furthermore, having the pre-casted fibre lay-up in the upper mould, the volume the resin has to fill during the vacuum infusion of the dry fibre lay-up in the lower mould and the connection region is smaller for the same blade size compared to the case in which the fibre lay-up for the upper part is not pre-casted. Further, the path the resin has to travel
30 during the vacuum infusion is shorter for the same blade size compared to the case in which the fibre lay-up for the upper part is not pre-casted. The resin has, for example, to rise to a lower height above a floor level of a manufacturing site compared to the case in which the fibre lay-up for the upper
35 part is not pre-casted. Therefore, it is easier to infuse the fibre lay-up in a resin infusion process with a good quality, even in the case of larger blade sizes.
An advantage over the method in which blade parts are glued
together is that here a laminate joint is provided connecting the upper pre-casted fibre lay-up and the dry fibre lay-up in the lower mould, once cured. Compared to a connection using an adhesive, the laminate joint formed by resin infusion is a lighter and at the same time stronger joint. It is lighter because in the case of an adhesive, the weight of the adhesive is added in the bond line. Further, the strength of the laminate joint formed by vacuum infusion is comparable to the strength of the pristine laminate. In addition, the laminate joint formed by vacuum infusion avoids the problem of glue joints of having a different material in the glue than in the rest of the blade.
The wind turbine blade is part of a rotor of a wind turbine. The wind turbine is an apparatus to convert the wind's kinetic energy into electrical energy. The wind turbine comprises, for example, the rotor having one or more of the blades connected each to a hub, a nacelle including a generator, and a tower holding, at its top end, the nacelle. The tower of the wind turbine may be connected via a transition piece to a foundation of the wind turbine, such as a monopile in the seabed.
The pre-casted fibre lay-up in the upper mould becomes, in the manufactured blade, a first shell of the blade. In particular, it becomes a first half shell of the blade.
The dry fibre lay-up in the lower mould becomes, once infused and cured, in the manufactured blade a second shell of the blade. In particular, it becomes a second half shell of the blade.
The first and second shells are, in particular, fibre reinforced resin laminates.
The first shell may comprise a pressure side (upwind side) of the blade and the second shell may comprise a suction side (downwind side) of the blade or vice versa.
The first and the second shells may each comprise the entire length of the blade from a blade root to a blade tip. Alternatively, the wind turbine blade may be split in a lengthwise direction. In this case, each of the first and second shells comprises a fraction of the total length of the blade.
The wind turbine blade, e.g., its root section, is, for example, fixedly connected to the hub. The wind turbine blade is, for example, directly bolted to the hub.
Alternatively, the wind turbine blade, e.g., the root section, is rotatably connected to the hub. For example, the wind turbine blade is connected to a pitch bearing of the wind turbine, and the pitch bearing is connected to the hub. The pitch bearing is configured to adjust the angle of attack of the blade according to the wind speed to control the rotational speed of the blade. Apart from the (cylindrical) root section connected with the hub, the wind turbine blade is formed aerodynamically. The wind turbine blade comprises, for example, the pressure side (upwind side) and the suction side (downwind side). The pressure side and the suction side are connected with each other at a leading edge and a trailing edge. The pressure and suctions sides and the leading and trailing edges define an in terior cavity of the wind turbine blade. The mould core (or mandrel) comprises, for example, an inner firm core and an external flexible portion surrounding the inner firm core.
The mould core may comprise two or more mould core portions. Each of the two or more mould core portions may comprise an inner firm core and a flexible external portion.
The upper and lower moulds and the mould core define the space in which the vacuum for the vacuum infusion process is applied. Resin is infused into this space and fills it partly So as to infuse at least the dry fibre lay-up and the connection region. Thus, the pre-casted fibre lay-up is infused with resin only in the connection region, while the remaining portion of the pre-casted fibre lay-up is - apart from the pre-casting process itself - not infused with resin.
The dry fibre lay-up and/or the pre-casted fibre lay-up includes, in particular, glass fibres, carbon fibres, aramid fibres and/or natural fibres.
The pre-casted fibres are, in particular, fibres infused with resin and cured before the step of infusing the dry fibre lay-up in the lower mould and the connection regions with resin. In other words, the pre-casted fibres in the upper mould are pre-casted in a first wet process (first resin in fusion process) and cured, and the dry fibre lay-up in the lower mould and the connection regions are infused with resin in a second wet process (second resin infusion process), wherein the first wet process (including curing) and second wet process are spaced apart in time.
The dry fibre lay-up comprises (only) fibres in dry condition, in particular, fibres without a resin. Fibres in dry condition are more flexible compared to fibres with resin such as fibres casted in resin or pre-impregnated fibres(prepreg). Packing fibres in dry condition into the lower or upper mould allows to match the shape of the respective mould.
The resin includes, for example, thermosets, thermoplastics, epoxy, polyurethane, vinyl ester and/or polyester.
The resin is, in particular, infused due to the generated vacuum in the space between the upper and lower moulds and the mould core. The resin is, for example, cured by applying heat.
According to an embodiment, the dry fibre lay-up and/or the 5 pre-casted fibre lay-up includes a fibre core material.
The fibre core material comprises, for example, wood, balsa, PET foam and/or PVc foam.
When the fibre lay-up including the core material is infused and cured with the resin, a fibre-reinforced resin laminate with a core structure made from the core material is obtained. For example, a sandwich-structured fibre-reinforced resin laminate may be obtained in which a layer of the core material is arranged between layers of fibre-reinforced resin.
The dry fibre lay-up and/or the pre-casted fibre lay-up includes, for example, an inner laminate and an outer laminate and in between the core material.
Having the fibre core material allows to reduce the weight of the final fibre-reinforced resin laminate while maintaining a sufficient rigidity and/or strength of the blade.
According to a further embodiment, the connection region comprises an overlap region in which the pre-casted fibre lay-up and the dry fibre lay-up overlap each other.
Having the overlap region allows to better join the precasted fibre lay-up and the dry fibre lay-up with each other by infusing and curing the resin. The resulting joint can better transfer loads in the blade shell.
The overlap region may be smaller than the connection region. Alternatively, the connection region may concur with the overlap region.
According to a further embodiment, the pre-casted fibre layup and/or the dry fibre lay-up comprises the fibre core material in the overlap region.
Having the same structure of the fibre-reinforced resin laminate with core material throughout the overlap and connection region allows to obtain a blade shell with homogenous properties, such as homogenous strength and weight, across the overlap and connection region.
According to a further embodiment, both the dry fibre lay-up and the pre-casted fibre lay-up comprise at least one tapered edge portion overlapping each other in the overlap region.
Having the tapered edge portions allows a good overlap of the dry fibre lay-up and the pre-casted fibre lay-up and a smooth transition from one to the other.
According to a further embodiment, the pre-casted fibre lay up and the dry fibre lay-up are in direct contact with each other in the connection region.
In particular, a surface of the pre-casted fibre lay-up and a surface of the dry fibre lay-up are in direct contact with each other. In the case of tapered edge portions overlapping each other, inclined surfaces of the tapered edge portions may be in direct contact with each other.
According to a further embodiment, an auxiliary material is disposed between a surface of at least one edge portion of the pre-casted fibre lay-up and a surface of at least one edge portion of the dry fibre lay-up.
The auxiliary material is, for example, a non-fibre material.
The auxiliary material is, for example, a PUR material.
Having the auxiliary material allows, in particular, more freedom in configuring different blade cross-section profiles to obtain different aerodynamic profiles (airfoils). For example, the auxiliary material may be applied to form a sharp edge of an aerodynamic profile, e.g. at the trailing edge of the air foil.
According to a further embodiment, the dry fibre lay-up in the lower mould has a main portion inside a cavity of the lower mould and at least one extending portion extending from the main portion beyond a side edge of the cavity of the lower mould, and wherein the method comprises, before the step of arranging the upper mould on the lower mould, the steps of arranging the mould core on the dry fibre lay-up in the lower mould and folding up the at least one extending portion of the dry fibre lay-up onto the mould core.
Having the extending portion and folding it up onto the mould core allows to configure the connection region offset from a region where the upper and lower mould edges are coming into Contact with each other. Hence, the pre-casted fibre lay-up can be better arranged and positioned on the dry fibre layup. Further, the connection region can be configured, for example, offset from the leading edge and/or the trailing edge. Hence, the connection region can be configured, for example, offset from the maximum curvature of the airfoil.
The lower mould comprises, in particular, the mould cavity for forming and casting the dry fibre lay-up. Further, the lower mould comprises horizontal portions extending from the side edges of the mould cavity to the right and left, as seen
30 in a cross-sectional view. The mould cavity accommodates, in particular, the main portion of the dry fibre lay-up. The at least one extending portion of the dry fibre lay-up is, for example, laid, before folding it up, on the horizontal portion(s) of the lower mould.
According to a further embodiment, a continuation portion of the at least one extending portion has the same layer structure and/or the same thickness as the main portion, the continuation portion being continuous with the main portion.
Having said continuity in layer structure and/or thickness from the main portion to the continuation portion of the dry fibre lay-up allows, in particular, to ensure homogenous properties, such as homogenous strength and/or weight, of the main portion and the continuation portion. The continuation portion may cover the leading edge and/or trailing edge of the airfoil. In this way, homogenous strength and/or weight of the blade can be ensured, for example, across the leading edge and/or the trailing edge.
According to a further embodiment, the method comprises, after the step of folding up the at least one extending portion onto the mould core, the step of fixing the at least one folded-up extending portion at the mould core.
With the extending portion fixed at the mould core, the upper mould can be more easily arranged on the lower mould and the mould core.
The extending portion is, for example, fixed at the mould core by applying a tape, e.g., an adhesive tape and/or a glass tape. The dry fibre lay-up may comprise two extending portions. Each of the two extending portions may be fixed at the mould core by an adhesive tape. Alternatively, the two extending portions may be fixed to each other, e.g., with a tape laid across the mould core.
According to a further embodiment, the method comprises, before the step of arranging the upper mould comprising the pre-casted fibre lay-up on the lower mould, the step of fixing the pre-casted fibre lay-up to the upper mould.
The upper mould comprising the fixed pre-casted fibre lay-up can be easier arranged on the lower mould. This is in particular the case as the upper mould is turned around.
Fixation of the pre-casted fibre lay-up may be done by attaching a foil to each of the edges of the pre-casted fibre lay-up and the upper mould and applying vacuum to a space covered by the foil. Fixation may also be done by using an elongated element, e.g. a bar and/or (wooden) stick clamped to the upper mould, e.g., to the horizontal portions of the upper mould. Fixation may also be done by bolting the precasted fibre lay-up to the upper mould.
According to a further embodiment, the method comprises, before the step of applying vacuum, the step of covering the mould core with a vacuum bag, and wherein the vacuum is applied to a space between the upper and lower moulds and the vacuum bag.
Covering the mould core with a vacuum bag may include sealing the vacuum bag. The mould core may also be covered with two or more vacuum bags to increase tightness.
In the case, the mould core comprises more than one mould core portion, each mould core portion may be covered with one or more vacuum bags.
In embodiments, the method may comprise the step of removing the vacuum bag and/or the mould core, after infusing and curing the resin. The mould core and/or the vacuum bag is, for example, removed through the blade root section. In the case the mould core comprises the flexible external portion, this flexible external portion may be compressed before removing the mould core. For example, vacuum may be generated in a space between the vacuum bag and the mould core, thereby compressing the flexible external portion and reducing the size of the mould core.
According to a further embodiment, the method comprises, before the step of arranging the upper mould on the lower mould, the step of arranging one or more reinforcement beams on the dry fibre lay-up.
Thus, the one or more reinforcement beams can be casted together with the dry fibre lay-up in one wet process, i.e. one infusion and curing process.
The one or more reinforcement beams comprise, for example, a pressure-side beam, a suction-side beam, a leading edge beam and/or a trailing edge beam. A reinforcement beam can be a dry layup, a pre-casted element or a combination of the two.
A pressure-side beam is, in particular, a beam on the pressure side of the wind turbine blade. A suction-side beam is, in particular, a beam on the suction side of the wind turbine blade. A leading edge beam is, in particular, a beam on the leading edge of the wind turbine blade. A trailing edge beam is, in particular, a beam on the trailing edge of the wind turbine blade.
According to a further embodiment, the method comprises, before the step of arranging the upper mould on the lower mould, the step of arranging a web, and wherein at least the dry fibre lay-up, the connection region and/or the web is/are infused with resin. One or more webs, e.g., two webs may be arranged. In embodiments, arranging a web includes arranging a pre-casted web.
Thus, the web can be casted together with the fibres in one wet process. The web provides, for example, strength to the blade.
According to a further embodiment, the web is configured to transversally connect the pre-casted fibre lay-up and the dry fibre lay-up, once cured, within an interior cavity of the blade.
The web is, in particular, a shear web. The web connects, in particular, the blade shells of the pressure side and the suction side in the interior cavity of the blade. The web provides shear strength to the blade.
Arranging the shear web and infusing the dry fibre lay-up, the connection region and the shear web with resin allows to join the shear web and the upper and lower shells in a single process step by infusing and curing the resin. The shear web can be a dry layup, a pre-casted element or a combination of the two.
Further possible implementations or alternative solutions of the invention also encompass combinations - that are not explicitly mentioned herein - of features described above or below with regard to the embodiments. The person skilled in the art may also add individual or isolated aspects and features to the most basic form of the invention.
Further embodiments, features and advantages of the present invention will become apparent from the subsequent description and dependent claims, taken in conjunction with the accompanying drawings, in which:
本发明涉及一种风电机组叶片的制造方法。在给定风况下,利用风电机组产生更多电能的一种方式是增加叶片尺寸。 然而,随着叶片尺寸的增加,风电机组叶片的制造变得越来越困难。目前,许多风电机组叶片是通过预先单独制造叶片部件(例如压力侧壳体和吸力侧壳体),然后将这些部件相互粘合来制造的。例如,这些部件是通过将玻璃纤维等复合材料注入树脂并固化树脂来预先制造的。然而,粘合过程存在许多缺点。例如,难以实现胶合线足够的强度和坚固性。此外,该方法需要在有限的时间内(即在所施加的胶水硬化之前)精确地定位非常大的部件。 在EP 1 310 351 Al中公开的另一种方法中,叶片是通过将整个叶片或沿长度方向的叶片部分的复合材料堆叠在芯模上,并通过注入和固化树脂来制造的。从而避免了胶合接头。然而,将干燥复合材料堆叠并定位在通常是柔性的芯模顶部是具有挑战性的,特别是对于非常大的叶片。此外,随着叶片尺寸的增加,通过真空灌注需要填充树脂的体积也随之增加,使得树脂灌注更加困难。 本发明的一个目的是提供一种改进的风电机组叶片制造方法。
因此,提出了一种风电机组叶片的制造方法。该方法包括以下步骤:
-
将包含预铸纤维铺层件的上模具布置在包含干燥纤维铺层件和模具芯的下模具上;
-
对上模具、下模具和模具芯之间的空间施加真空;
-
用树脂灌注至少干燥纤维铺层件以及干燥纤维铺层件与预铸纤维铺层件之间的连接区域,并固化树脂。
通过在上模具中设置预铸纤维铺层件,避免了将干燥复合材料堆叠和定位在模具芯顶部。
此外,优选地,通过将干燥纤维铺层件堆叠在倒置的上模具中,注入树脂并固化来完成上模具中的纤维铺层件的预铸。由于上模具是倒置的,因此纤维材料的堆叠也是在上模具中朝向具有明确几何形状的模具进行,而不是朝向柔性模具芯。此外,在上模具中设置预铸纤维铺层件,与上部纤维铺层件未预铸的情况相比,在相同叶片尺寸下,树脂在下模具中干燥纤维铺层件和连接区域的真空灌注过程中需要填充的体积更小。此外,与上部纤维铺层件未预铸的情况相比,在相同叶片尺寸下,树脂在真空灌注过程中需要流动的路径更短。例如,与上部纤维铺层件未预铸的情况相比,树脂需要上升到制造现场地面以上的高度更低。因此,即使在叶片尺寸较大的情况下,也更容易在树脂灌注过程中高质量地灌注纤维铺层件。
与叶片部件相互粘合的方法相比,本发明的一个优点是,一旦固化,这里提供了一个层压接头,连接上部预铸纤维铺层件和下模具中的干燥纤维铺层件。与使用粘合剂的连接相比,通过树脂灌注形成的层压接头更轻,同时更坚固。它更轻,因为在使用粘合剂的情况下,粘合剂的重量会增加到粘合线中。此外,通过真空灌注形成的层压接头的强度与原始层压件的强度相当。此外,通过真空灌注形成的层压接头避免了胶合接头中胶水材料与叶片其余部分材料不同的问题。 风电机组叶片是风电机组风轮的一部分。风电机组是一种将风的动能转换为电能的装置。例如,风电机组包括:具有一个或多个叶片(每个叶片连接到一个轮毂)的风轮;包括发电机的机舱;以及在其顶端支撑机舱的塔架。风电机组的塔架可以通过过渡件连接到风电机组的基础,例如海床中的单桩。
上模具中的预铸纤维铺层件在制成的叶片中成为叶片的第一壳体。特别地,它成为叶片的第一半壳体。
下模具中的干燥纤维铺层件一旦灌注并固化,在制成的叶片中成为叶片的第二壳体。特别地,它成为叶片的第二半壳体。
第一和第二壳体特别地是纤维增强树脂层压件。
第一壳体可以包括叶片的压力侧(迎风侧),第二壳体可以包括叶片的吸力侧(背风侧),反之亦然。
第一和第二壳体可以各自包括从叶片根部到叶尖的整个叶片长度。或者,风电机组叶片可以沿长度方向分开。在这种情况下,第一和第二壳体中的每一个都包括叶片总长度的一部分。
例如,风电机组叶片(例如其根部)固定连接到轮毂。例如,风电机组叶片直接用螺栓固定到轮毂。
或者,风电机组叶片(例如根部)可旋转地连接到轮毂。例如,风电机组叶片连接到风电机组的变桨轴承,并且变桨轴承连接到轮毂。变桨轴承配置为根据风速调整叶片的攻角,以控制叶片的转速。除了与轮毂连接的(圆柱形)根部之外,风电机组叶片是气动成形的。例如,风电机组叶片包括压力侧(迎风侧)和吸力侧(背风侧)。压力侧和吸力侧在导边和尾缘处相互连接。压力侧和吸力侧以及导边和尾缘限定了风电机组叶片的内部空腔。模具芯(或芯棒)例如包括一个内部坚固芯和一个围绕内部坚固芯的外部柔性部分。
模具芯可以包括两个或更多个模具芯部分。两个或更多个模具芯部分中的每一个可以包括一个内部坚固芯和一个柔性外部部分。
上模具、下模具和模具芯限定了用于真空灌注过程施加真空的空间。树脂被灌注到该空间中并部分填充,以灌注至少干燥纤维铺层件和连接区域。因此,预铸纤维铺层件仅在连接区域被树脂灌注,而预铸纤维铺层件的其余部分——除了预铸过程本身之外——未被树脂灌注。
干燥纤维铺层件和/或预铸纤维铺层件特别地包括玻璃纤维、碳纤维、芳纶纤维和/或天然纤维。
预铸纤维特别地是在用树脂灌注下模具中的干燥纤维铺层件和连接区域的步骤之前,用树脂灌注并固化的纤维。换句话说,上模具中的预铸纤维在第一湿法工艺(第一树脂灌注工艺)中预铸并固化,而下模具中的干燥纤维铺层件和连接区域在第二湿法工艺(第二树脂灌注工艺)中用树脂灌注,其中第一湿法工艺(包括固化)和第二湿法工艺在时间上是分开的。
干燥纤维铺层件包括(仅)干燥状态的纤维,特别是不含树脂的纤维。与含有树脂的纤维(例如铸造在树脂中的纤维或预浸渍纤维(预浸料))相比,干燥状态的纤维更具柔性。将干燥状态的纤维堆叠到下模具或上模具中,可以使其与相应模具的形状匹配。
树脂例如包括热固性塑料、热塑性塑料、环氧树脂、聚氨酯、乙烯基酯和/或聚酯。
树脂特别地是由于上模具、下模具和模具芯之间空间中产生的真空而灌注的。例如,树脂通过施加热量来固化。
根据一个实施例,干燥纤维铺层件和/或预铸纤维铺层件包括纤维芯材。 纤维芯材例如包括木材、轻木、PET泡沫和/或PVC泡沫。 当包含芯材的纤维铺层件用树脂灌注并固化时,获得具有由芯材制成的芯结构的纤维增强树脂层压件。例如,可以获得一种夹层结构的纤维增强树脂层压件,其中芯材层布置在纤维增强树脂层之间。 干燥纤维铺层件和/或预铸纤维铺层件例如包括内层层压件和外层层压件,以及介于两者之间的芯材。 设置纤维芯材可以减轻最终纤维增强树脂层压件的重量,同时保持叶片足够的刚度和/或强度。 根据另一实施例,连接区域包括一个重叠区域,其中预铸纤维铺层件和干燥纤维铺层件相互重叠。 设置重叠区域可以通过灌注和固化树脂,更好地将预铸纤维铺层件和干燥纤维铺层件相互连接。所形成的接头可以更好地传递叶片壳体中的载荷。 重叠区域可以小于连接区域。或者,连接区域可以与重叠区域重合。
根据另一实施例,预铸纤维铺层件和/或干燥纤维铺层件在重叠区域中包含纤维芯材。
在整个重叠和连接区域中具有相同芯材的纤维增强树脂层压件结构,可以获得在重叠和连接区域具有均匀特性(例如均匀强度和重量)的叶片壳体。 根据另一实施例,干燥纤维铺层件和预铸纤维铺层件都包括至少一个在重叠区域中相互重叠的锥形边缘部分。 设置锥形边缘部分可以使干燥纤维铺层件和预铸纤维铺层件良好重叠,并实现从一个到另一个的平滑过渡。 根据另一实施例,预铸纤维铺层件和干燥纤维铺层件在连接区域中相互直接接触。 特别地,预铸纤维铺层件的表面和干燥纤维铺层件的表面相互直接接触。在锥形边缘部分相互重叠的情况下,锥形边缘部分的倾斜表面可以相互直接接触。 根据另一实施例,辅助材料布置在预铸纤维铺层件的至少一个边缘部分的表面与干燥纤维铺层件的至少一个边缘部分的表面之间。 辅助材料例如是非纤维材料。 辅助材料例如是PUR材料。 设置辅助材料特别地允许在配置不同叶片横截面轮廓以获得不同气动轮廓(翼型)方面具有更大的自由度。例如,辅助材料可以用于形成气动轮廓的锐边,例如在翼型的尾缘处。
根据另一实施例,下模具中的干燥纤维铺层件具有位于下模具型腔内部的主体部分,以及至少一个从主体部分延伸超出下模具型腔侧边缘的延伸部分,并且该方法包括,在将上模具布置在下模具上的步骤之前,将模具芯布置在下模具中的干燥纤维铺层件上,并将干燥纤维铺层件的至少一个延伸部分向上折叠到模具芯上的步骤。
设置延伸部分并将其向上折叠到模具芯上,可以使连接区域配置成偏离上模具和下模具边缘相互接触的区域。因此,预铸纤维铺层件可以更好地布置和定位在干燥纤维铺层件上。此外,连接区域可以配置成例如偏离导边和/或尾缘。因此,连接区域可以配置成例如偏离翼型的最大曲率。
下模具特别地包括用于形成和铸造干燥纤维铺层件的模具型腔。此外,从横截面图来看,下模具包括从模具型腔的侧边缘向右和向左延伸的水平部分。模具型腔特别地容纳干燥纤维铺层件的主体部分。干燥纤维铺层件的至少一个延伸部分例如在向上折叠之前,铺设在下模具的水平部分上。
根据另一实施例,至少一个延伸部分的延续部分具有与主体部分相同的层结构和/或相同的厚度,该延续部分与主体部分是连续的。
干燥纤维铺层件从主体部分到延续部分在层结构和/或厚度上的这种连续性,特别地可以确保主体部分和延续部分具有均匀的特性,例如均匀的强度和/或重量。延续部分可以覆盖翼型的导边和/或尾缘。通过这种方式,可以确保叶片具有均匀的强度和/或重量,例如在导边和/或尾缘处。
根据另一实施例,该方法包括,在将至少一个延伸部分向上折叠到模具芯上的步骤之后,将至少一个向上折叠的延伸部分固定在模具芯上的步骤。
随着延伸部分固定在模具芯上,上模具可以更容易地布置在下模具和模具芯上。
例如,延伸部分通过施加胶带(例如粘合胶带和/或玻璃胶带)固定在模具芯上。 干燥纤维铺层件可以包括两个延伸部分。两个延伸部分中的每一个可以通过粘合胶带固定在模具芯上。或者,两个延伸部分可以相互固定,例如用一条横跨模具芯的胶带。
根据另一实施例,该方法包括,在将包含预铸纤维铺层件的上模具布置在下模具上的步骤之前,将预铸纤维铺层件固定到上模具上的步骤。
包含固定预铸纤维铺层件的上模具可以更容易地布置在下模具上。当上模具翻转时,情况尤其如此。
预铸纤维铺层件的固定可以通过将箔片连接到预铸纤维铺层件和上模具的每个边缘,并对箔片覆盖的空间施加真空来完成。固定也可以通过使用细长元件(例如夹紧到上模具(例如上模具的水平部分)的杆和/或(木制)棒)来完成。固定也可以通过将预铸纤维铺层件用螺栓固定到上模具上来完成。 根据另一实施例,该方法包括,在施加真空的步骤之前,用真空袋覆盖模具芯的步骤,并且真空施加到上模具、下模具和真空袋之间的空间。 用真空袋覆盖模具芯可以包括密封真空袋。模具芯也可以用两个或更多个真空袋覆盖以增加密封性。 在模具芯包含多个模具芯部分的情况下,每个模具芯部分可以用一个或多个真空袋覆盖。
在实施例中,该方法可以包括在灌注和固化树脂之后,移除真空袋和/或模具芯的步骤。例如,模具芯和/或真空袋通过叶片根部移除。在模具芯包含柔性外部部分的情况下,该柔性外部部分可以在移除模具芯之前被压缩。例如,可以在真空袋和模具芯之间的空间中产生真空,从而压缩柔性外部部分并减小模具芯的尺寸。
根据另一实施例,该方法包括,在将上模具布置在下模具上的步骤之前,在干燥纤维铺层件上布置一个或多个加强梁的步骤。
因此,一个或多个加强梁可以与干燥纤维铺层件在一个湿法工艺中(即一个灌注和固化工艺中)一起铸造。
一个或多个加强梁例如包括压力侧梁、吸力侧梁、导边梁和/或尾缘梁。加强梁可以是干燥铺层件、预铸元件或两者的组合。
压力侧梁特别地是风电机组叶片压力侧上的梁。吸力侧梁特别地是风电机组叶片吸力侧上的梁。导边梁特别地是风电机组叶片导边上的梁。尾缘梁特别地是风电机组叶片尾缘上的梁。
根据另一实施例,该方法包括,在将上模具布置在下模具上的步骤之前,布置腹板的步骤,并且至少干燥纤维铺层件、连接区域和/或腹板被树脂灌注。可以布置一个或多个腹板,例如两个腹板。在实施例中,布置腹板包括布置预铸腹板。
因此,腹板可以与纤维在一个湿法工艺中一起铸造。例如,腹板为叶片提供强度。
根据另一实施例,腹板配置为在叶片的内部空腔内,一旦固化,横向连接预铸纤维铺层件和干燥纤维铺层件。
腹板特别地是剪力腹板。腹板特别地连接叶片内部空腔中压力侧和吸力侧的叶片壳体。腹板为叶片提供剪切强度。
布置剪力腹板并用树脂灌注干燥纤维铺层件、连接区域和剪力腹板,可以通过灌注和固化树脂,在一个工艺步骤中将剪力腹板与上壳体和下壳体连接起来。剪力腹板可以是干燥铺层件、预铸元件或两者的组合。
本发明的其他可能的实施方式或替代解决方案还包括本文未明确提及的、关于上述或下述实施例中描述的特征的组合。本领域技术人员还可以将单个或独立的方面和特征添加到本发明最基本的形式中。
本发明的其他实施例、特征和优点将从结合附图的后续描述和从属权利要求中显而易见,其中:
Fig. 1 shows a wind turbine according to an embodiment; Fig. 2 shows a cross-section view of a pre-casted fibre layup forming a first shell of a blade of the wind turbine of Fig. 1, the pre-casted fibre lay-up being manufactured in an upper mould turned upside down; Fig. 3 shows a cross-section view of a dry fibre lay-up forming, once casted and cured, a second shell of the blade of the wind turbine of Fig. 1, the dry fibre lay-up being arranged in a lower mould;
Fig. 4 shows a view similar as Fig. 3 with a mould core and a web arranged on the dry fibre lay-up in the lower mould;
Fig. 5 shows a view similar as Fig. 4 with extending portions of the dry fibre lay-up being folded up onto the mould core;
Fig. 6 shows the upper mould with the pre-casted fibre lay-up of Fig. 2 during arrangement on the lower mould with the dry fibre lay-up of Fig. 5;
Fig. 7 shows a view similar as Fig. 6 with the upper mould being arranged on the lower mould, wherein the pre-casted fibre lay-up is overlapping with the dry fibre lay-up in an overlap region;
Fig. 8 shows a view similar as Fig. 7 with resin infused;
Fig. 9 shows a further embodiment of an overlap of a precasted fibre lay-up and a dry fibre lay-up;
Fig. 10 shows another embodiment of an overlap of a precasted fibre lay-up and a dry fibre lay-up; and
Fig. 11 shows a flowchart illustrating a method for manufacturing the wind turbine blade of the wind turbine of Fig. 1.
In the figures, like reference numerals designate like or functionally equivalent elements, unless otherwise indicated.
图1示出根据一个实施例的一种风电机组; 图2示出图1所示风电机组的叶片的第一壳体的预铸纤维铺层的截面图,该预铸纤维铺层在上模具中倒置制造; 图3示出图1所示风电机组的叶片的第二壳体的干纤维铺层的截面图,该干纤维铺层在浇铸和固化后形成第二壳体,该干纤维铺层布置在下模具中;
图4示出与图3类似的视图,其中模具型芯和腹板布置在下模具中的干纤维铺层上;
图5示出与图4类似的视图,其中干纤维铺层的延伸部分被向上折叠到模具型芯上; 图6示出带有图2所示预铸纤维铺层的上模具在布置到带有图5所示干纤维铺层的下模具上时的视图; 图7示出与图6类似的视图,其中上模具布置在下模具上,并且预铸纤维铺层在重叠区域与干纤维铺层重叠; 图8示出与图7类似的视图,其中树脂已注入; 图9示出预铸纤维铺层和干纤维铺层重叠的又一个实施例; 图10示出预铸纤维铺层和干纤维铺层重叠的另一个实施例;以及 图11示出一种用于制造图1所示风电机组的叶片的方法的流程图。 在图中,除非另有说明,相同的附图标记表示相同或功能等效的元件。
Fig. 1 shows a wind turbine 1 according to an embodiment. The wind turbine 1 comprises a rotor 2 having one or more blades connected to a hub 4. The hub 4 is connected to a generator (not shown) arranged inside a nacelle 5. During operation of the wind turbine l, the blades 3 are driven by wind to rotate and the wind's kinetic energy is converted into electrical energy by the generator in the nacelle 5. The nacelle 5 is arranged at the upper end of a tower 6 of the wind turbine 1. The tower 6 is erected on a foundation 7 such as a monopile or tripile. The foundation 7 is connected to and/or driven into the ground or seabed.
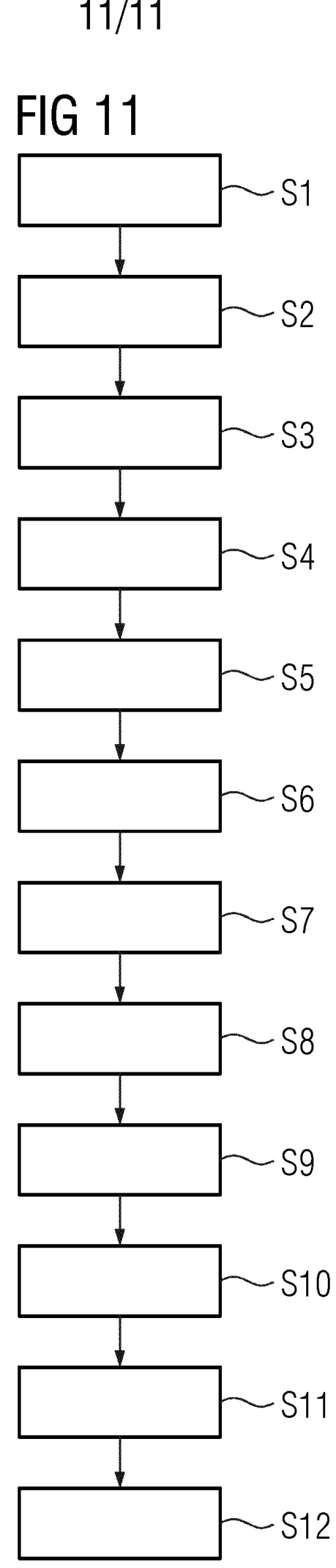
In the following an improved method for manufacturing a wind 5turbine blade 3 is described with respect to Figs. 2 to 11.
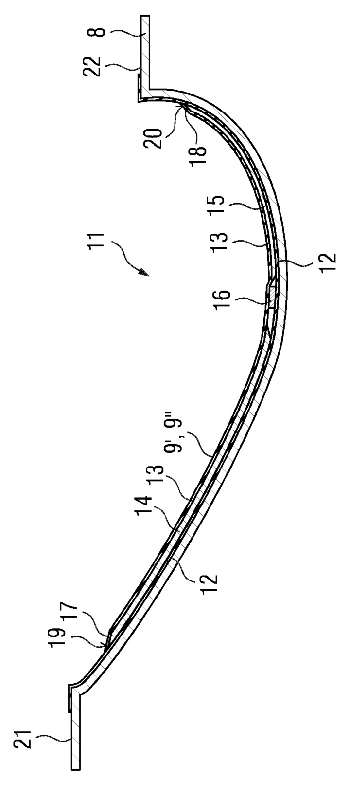
In step S1 of the method, and upper mould 8 is provided for pre-casting a fibre lay-up 9', as shown in Fig. 2. The precasted fibre lay-up 9", once cured and assembled, will become a first shell 10 of the manufactured blade 3 (Fig. 7).For step Sl, the upper mould 8 is turned upside down, as shown in Fig. 2. A mould cavity ll of the upper mould 8 is packed with dry fibre lay-up 9'. Since the upper mould 8 is turned upside down, the fibre lay-up 9' can be packed towards a well defined geometry, in contrast to the case in which a fibre lay-up is packed onto a flexible mould core. The fibre lay-up 9', 9" in the example of Fig. 2 comprises an outer laminate 12 and an inner laminate 13.Further, the fibre lay-up 9', 9" comprises a core material, e.g., a balsa core, between the outer laminate 12 and the inner laminate 13. Here, it comprises a trailing edge balsa core 14 and a leading edge balsa core 15. The outer laminate 12, the respective balsa core 14, 15, and the inner laminate 13 form a sandwich structure.
The fibre lay-up 9', 9" has a first tapered portion 17 and a second tapered portion 18 at its left and right edges in Fig. 2. In each of these tapered portions 17, 18, the inner laminate 13, the respective balsa core 14, 15, and the outer laminate 12 is tapered. Hence, the tapered portions 17, 18 each have a continuous inclined surface 19, 20.
The fibre lay-up 9', 9" in Fig. 2 further comprises a pre35 casted beam 16. The beam 16 is, for example, a suction-side beam or a pressure-side beam of the blade 3.
The dry fibre lay-up 9' is pre-casted by a known vacuum infusion process, as described in EP 1 310 351 Al. In this vacuum infusion process, the fibre lay-up 9' is covered with a vacuum bag (not shown), and the vacuum bag is sealed (not shown) at horizontal portions 21, 22 of the upper mould 8. Further, a vacuum is generated in a space covered by the vacuum bag, resin (not shown) is infused into the fibre lay-up 9’ and cured, resulting in the pre-casted fibre lay-up 9" shown in Fig.2.
In step S2 of the method, a lower mould 23 is provided, as shown in Fig. 3. The lower mould 23 is packed with a dry fibre lay-up 24'.
The dry fibre lay-up 24' comprises an outer laminate 25 and an inner laminate 26. Further, the dry fibre lay-up 24' comprises a core material, such as a leading edge balsa core 27 and a trailing edge balsa core 28. Hence, the fibre lay-up 24' has a sandwich structure, wherein a respective balsa core 27, 28 is sandwiched in between outer and inner laminates 25, 26。
The fibre lay-up 24' further comprises a pre-casted beam 29. The beam 29 is, for example, a pressure-side beam or a suction-side beam of the blade 3.
The lower mould 23 comprises a mould cavity 30 and horizontal portions 31, 32 extending from side edges 33, 34 of the mould cavity 30.
The dry fibre lay-up 24' is packed into the lower mould 23 by arranging a main portion 35 of the dry fibre lay-up 24' inside the cavity 30. In this example, the main portion 35 comprises a first main portion 36 and a second main portion 37.
The first main portion 36 is arranged to the left side in Fig. 3 of the beam 29. The second main portion 37 is arranged to the right side in Fig. 3 of the beam 29.
Further, extending portions 38, 39 of the dry fibre lay-up 24' extend from the main portion 35,i.e. from the first main portion 36 and the second main portion 37, beyond the side edges 33, 34 of the cavity 30, respectively.
The extending portion 38 comprises a first continuation portion 40 and a first tapered portion 42. The extending portion 39 comprises a second continuation portion 4l and a second tapered portion 43.
In this example, the continuation portion 40 has the same layer structure of the outer laminate 25, the leading edge balsa core 27, and the inner laminate 26 as the first main portion 36 of the fibre lay-up 24'. Further, the continuation portion 40 has the same thickness d1 as the first main portion 36. Furthermore, the continuation portion 4l has the same layer structure of the outer laminate 25, the trailing edge balsa core 28, and the inner laminate 26 as the second main portion 37 of the fibre lay-up 24'. Further, the continuation portion 41 has the same thickness d2 as the second main portion 37.
In each of the first and second tapered portions 42, 43, the inner laminate 26, the respective balsa core 27, 28, and the outer laminate 25 are tapered. Hence, the tapered portions 42, 43 each have a continuous inclined surface 44, 45.
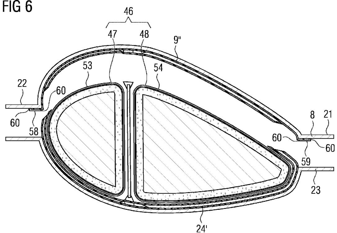
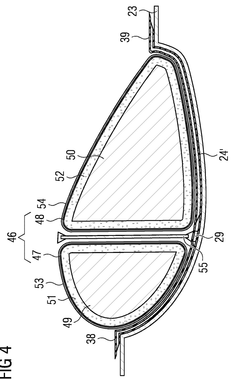
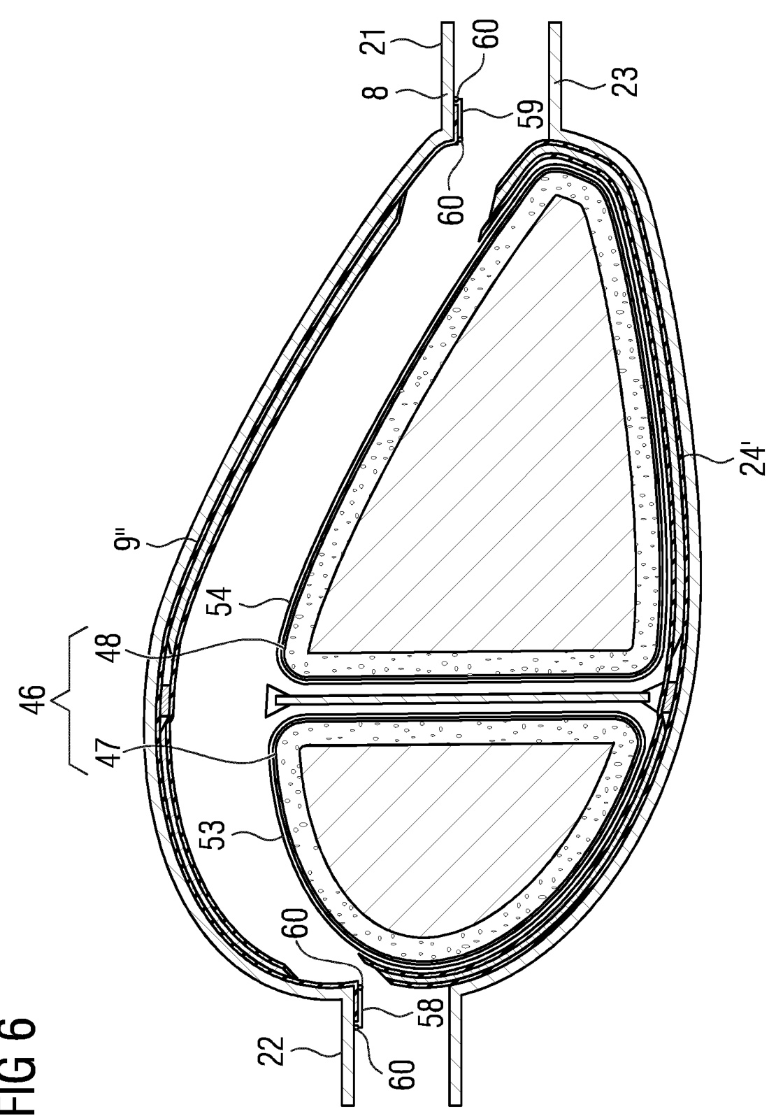
In step S3 of the method, a mould core 46 is arranged on the dry fibre lay-up 24', as shown in Fig. 4. The mould core 46 comprises a first mould core portion 47 and a second mould core portion 48. Each of the first and second mould core portions 47, 48 comprises,for example, a firm inner core 49, 50, and a flexible external portion 5l, 52. The flexible external portions 51, 52 comprise, for example, a foam material which Can be compressed.
Before arranging the mould core portions 47, 48, each of them is covered with a vacuum bag 53, 54, as shown in Fig. 4. The vacuum bags 53, 54 are sealed.
In step S4 of the method, a shear web 55 is provided on the dry fibre lay-up 24' and in between the first and second mould core portions 47 and 48. In the example shown in the figures, the web 55 is a dry lay-up. In other examples, the web 55 may also be pre-casted.
Step S4 may be performed simultaneously with step S3 of arranging the mould core portions 47, 48.
In step S5 of the method, the extending portions 38, 39 of the dry fibre lay-up 24' are folded up onto the respective first and second mould core portions 47, 48 of the mould core 46, as shown in Fig. 5.
In step S6 of the method, the extending portions 38, 39 are fixed to the respective first and second mould core portions 47, 48. In detail, the extending portion 38 is fixed to the first mould core portion 47 covered with the vacuum bag 53 by means of a first adhesive tape 56. Further, the extending portion 39 is fixed to the second mould core portion 48 covered with the vacuum bag 54 by means of a second adhesive tape 57 .
In step S7 of the method, the pre-casted fibre lay-up 9", which was pre-casted in the upper mould 8 in step S1 (Fig. 2), is fixed to the upper mould 8. The pre-casted fibre layup 9" is, for example and as shown in Fig. 6, fixed to the upper mould 8 by means of attaching a first foil 58 and a second foil 59 each to the pre-casted fibre lay-up 9" and the upper mould 8. The foils 58, 59 are sealed. Fig. 6 shows as example sealings 60. A vacuum is generated in a space covered by the foils 58, 59 which holds the pre-casted fibre lay-up 9" in the upper mould 8 while turning it and lowering it onto the lower mould 23 in the next step.
Step S1 and S7 may be performed before steps S2 to S6, simultaneously with steps S2 to S6, or after steps S2 to S6.
In step S8 of the method, the upper mould 8 is arranged on the lower mould 23, as shown in Fig. 6. Arranging the upper mould 8 on the lower mould 23 includes turning the upper mould 8 from the position in Fig. 2 to the position in Fig. 6. Fig. 6 shows a state in which the fibre lay-up 9" is already fixed to the upper mould 8, and the upper mould 8 is lifted, turned around and is being lowered onto the lower mould 23.
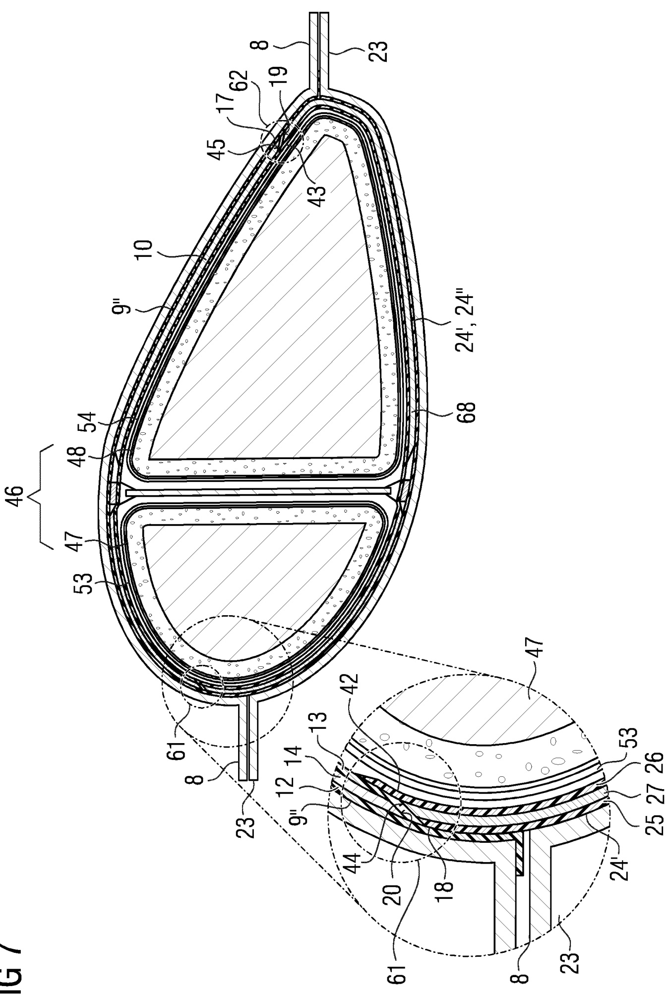
Fig. 7 shows a state in which the upper mould 8 has been arranged on the lower mould 23. The pre-casted fibre lay-up 9" and the dry fibre lay-up 24' overlap each other in both a first and a second overlap region 61, 62. Fig. 7 shows an insert with an enlarged view of the overlap region 61. In particular, the tapered portion 18 of the pre-casted fibre layup 9" and the tapered portion 42 of the dry fibre lay-up 24' are overlapping each other in the overlap region 6l. Thereby, the inclined surface 20 of the tapered portion 18 and the inclined surface 44 of the tapered portion 42 are in direct contact with each.
Similar, the tapered portion 17 of the pre-casted fibre layup 9" and the tapered portion 43 of the dry fibre lay-up 24' are overlapping each other in the overlap region 62. Thereby, the inclined surface 19 of the tapered portion 17 and the in
30 clined surface 45 of the tapered portion 43 are in direct Contact with each.
In this example, as can be seen in the insert of Fig. 7, the layer structure of the pre-casted fibre lay-up 9" including the outer and inner laminates 12, 13 and the respective core material 14, 15 match the layer structure of the dry fibre lay-up 24' including the outer and inner laminates 25, 26 and the respective core material 27, 28.
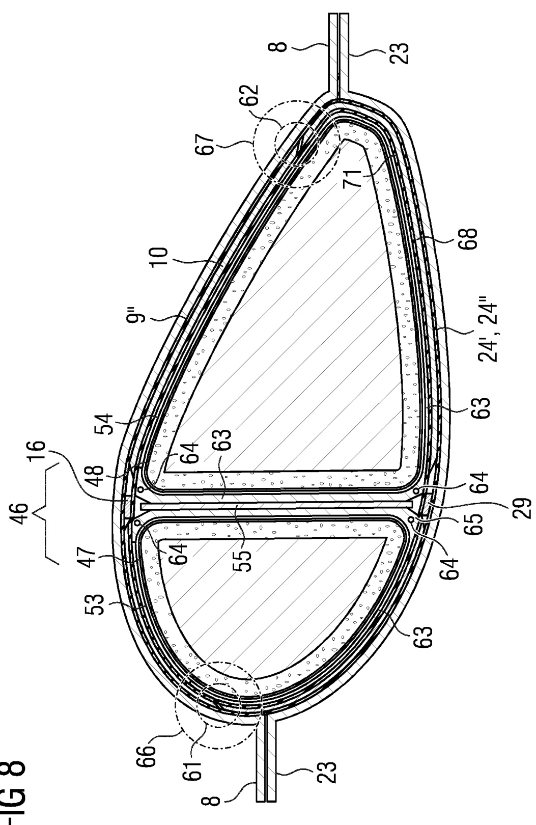
In step S9 of the method, a vacuum is generated in a space 63 defined by the upper and lower moulds 8, 23 and the vacuum bags 53, 54 covering the mould core portions 47, 48, as shown in Fig . 8 .
In step S10, resin 65 is introduced in the space 63. In particular, the resin 65 is introduced in that part of the space 63 comprising the dry fibre lay-up 24', the connection regions 66, 67, and the web 55. The resin 65 is, for example, introduced by a vacuum infusion process such as Vacuum Assisted Resin Transfer Moulding (VARTM). For further details of the generation of the vacuum, the infusion and curing of the resin 65, it is referred to EP 1 310 351 A1.
The example illustrated in the figures shows a case where the web 55 is a dry lay-up. In this case, the web 55 is entirely infused with the resin 65, as shown.
In other examples, a pre-casted web instead of the web 55 may be used. Then, the resin 65 would only be infused in an upper and lower connection portion of such a web (i.e. in a region where such a web would be connected with the beam 16 and in a region where such a web would be connected with the beam 29) but not in a vertical portion of such a web.
Fig. 8 shows exemplary inlet channels 64 through which the resin 65 is infused. With the drawn-in resin 65, the dry fibre lay-up 24', the connection regions 66, 67 (between the dry fibre lay-up 24' and the pre-casted fibre lay-up 9"), and the web 55 are casted in a single process step.
Each of the connection regions 66, 67 includes, in particularly, the respective overlap region 6l, 62. In this example, the connection regions 66, 67 are larger than the overlap regions 61, 62, respectively. In another embodiment, the connection regions 66, 67 and overlap regions 61, 62 may be the same, respectively.
As the fibre lay-up 9" in the upper mould 8 is pre-casted, the resin 65 has to only fill the dry fibre lay-up 24', the connection regions 66, 67 and the web 55 but not the remaining portion of the pre-casted fibre lay-up 9" during the vacuum infusion process in step S9. Thus, the resin 65 has to travel a shorter path and fill a smaller volume compared to the case in which a fibre lay-up in the upper mould 8 is in a dry condition, i.e. without resin.
In step S11, the infused resin 65 is cured by a known process to obtain a cured and assembled blade shell. As shown in Fig. 8, the pre-casted fibre lay-up 9" in the upper mould 8 beComes in the manufactured blade 3 the first half shell 10.
Further, the fibre lay-up 24" in the lower mould 23 becomes, once infused and cured, in the manufactured blade 3 a second half shell 68. The web 55, once cured, transversally connects the first half shell 10 and the second half shell 68 within an interior cavity 7l of the blade 3.
In this example, the resulting fibre-reinforced resin laminate of the shells 10, 68 has the same structure comprising the inner laminates 13, 26, the core materials 14, 15, 27, 28, and the outer laminates 12, 25 throughout the overlap regions 61, 62 and the connection regions 66, 67. Therefore, a blade 3 having a shell with homogenous properties, such as homogenous strength and weight, across the overlap and connection regions 61, 62, 66, 67 is obtained.
In step S12 (not shown), the mould core portions 47, 48 and the vacuum bags 53, 54 are removed from the blade 3, e.g., through a root section of the blade 3.
With this method, a blade is manufactured in which the first and second shells 10, 68 are connected with each other by a laminate joint which is a light and at the same time strong joint.
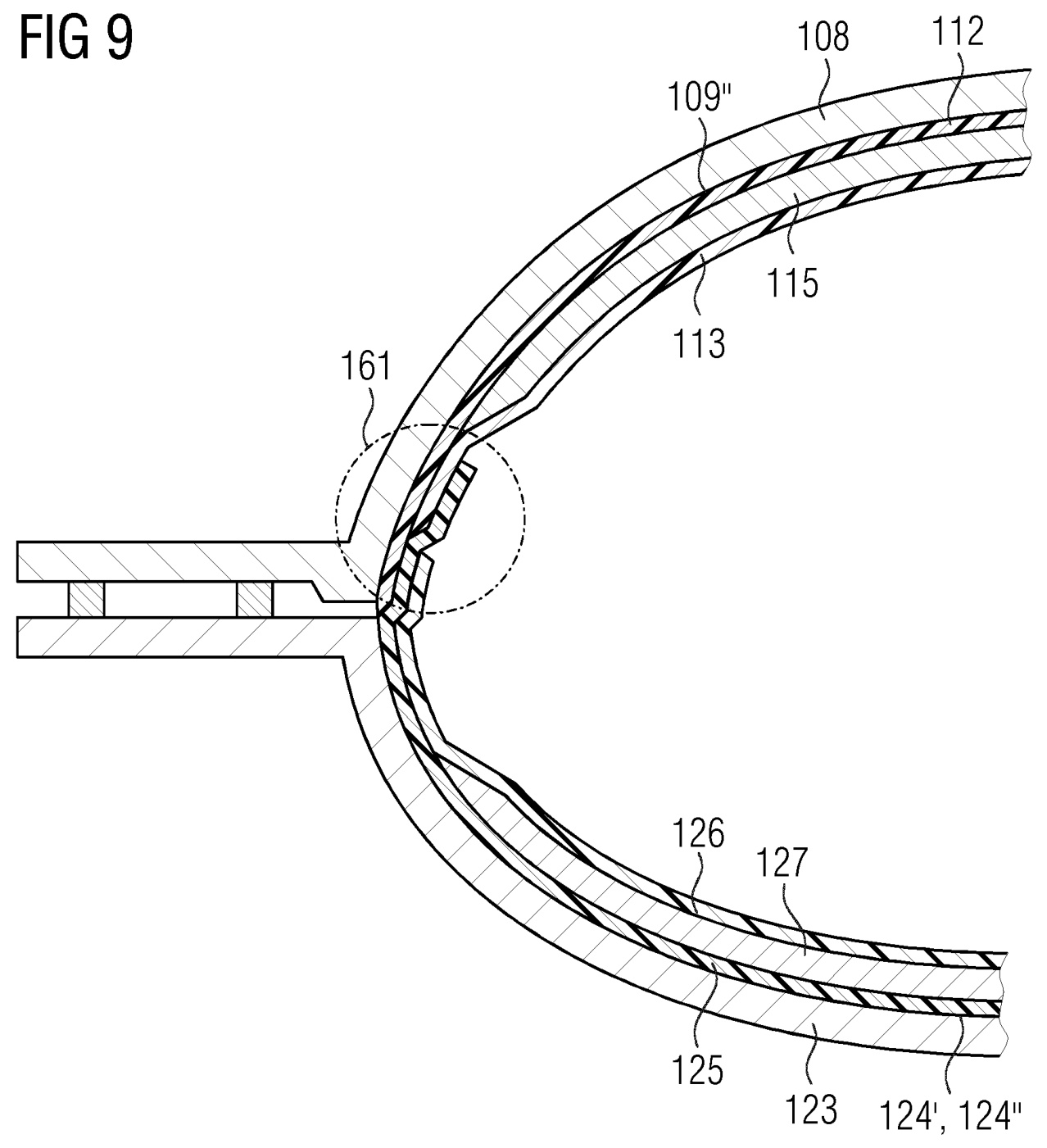
In a further embodiment, as shown in Fig.9, an overlap region 161 of a pre-casted fibre lay-up 109" in an upper mould 108 and a dry fibre lay-up 124' in a lower mould 123 does not contain a core material 115, 127. Thus, in the overlap region 161, the outer and inner laminates 112, 113 of the pre-casted lay-up 109" overlap with the outer and inner laminates 125, 126 of the fibre lay-up 124', 124" in the lower mould 123. However, the core material 1l5 of the pre-casted fibre lay-up 109" does not overlap with the core material 127 of the fibre lay-up 124', 124" in the lower mould 123.
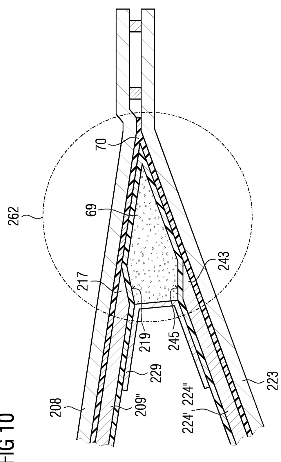
In a further embodiment, as shown in Fig. 1o, an auxiliary material 69 is disposed in an overlap region 262 of a precasted fibre lay-up 209" in an upper mould 208 and a fibre lay-up 224', 224" in a lower mould 223. The auxiliary material 69 is, for example, a PUR material. It is applied in the example of Fig. 10 to form a sharp edge 70 of an aerodynamic profile of the blade 3, e.g. at a trailing edge of the airfoil.
The auxiliary material 69 is arranged in the example of Fig. 10 between an inclined surface 219 of a tapered edge portion 217 of the pre-casted fibre lay-up 209" and an inclined surface 245 of a tapered edge portion 243 of the fibre lay-up 224', 224" in the lower mould 223. Furthermore, a mini-web 229 is arranged connecting the pre-casted fibre lay-up 209", the auxiliary material 69 and the fibre lay-up 224', 224".
Although the present invention has been described in accord ance with preferred embodiments, it is obvious for the person skilled in the art that modifications are possible in all embodiments.
图1示出了根据一个实施例的风电机组1。风电机组1包括风轮2,风轮2具有连接到轮毂4的一个或多个叶片。轮毂4连接到布置在机舱5内部的发电机(未示出)。在风电机组1运行期间,叶片3由风驱动旋转,并且风的动能由机舱5中的发电机转换为电能。机舱5布置在风电机组1的塔架6的上端。塔架6竖立在基础7上,例如单桩或三桩。基础7连接到陆地或海床和/或打入陆地或海床。
下文将参照图2至图11描述一种改进的叶片3制造方法。
在该方法的步骤S1中,提供上模具8以预铸纤维铺层9',如图2所示。预铸纤维铺层9"一旦固化并组装,将成为所制造叶片3的第一壳体10(图7)。对于步骤S1,上模具8被倒置,如图2所示。上模具8的模腔11填充有干纤维铺层9'。由于上模具8被倒置,纤维铺层9'可以被填充成明确的几何形状,这与将纤维铺层填充到柔性模芯上的情况不同。 图2示例中的纤维铺层9'、9"包括外层层压板12和内层层压板13。此外,纤维铺层9'、9"包括芯材,例如,在外层层压板12和内层层压板13之间的轻木芯。在此,其包括后缘轻木芯14和前缘轻木芯15。外层层压板12、相应的轻木芯14、15和内层层压板13形成夹层结构。
图2中的纤维铺层9'、9"在其左边缘和右边缘处具有第一锥形部分17和第二锥形部分18。在这些锥形部分17、18中的每一个中,内层层压板13、相应的轻木芯14、15和外层层压板12是锥形的。因此,锥形部分17、18各自具有连续的倾斜表面19、20。
图2中的纤维铺层9'、9"还包括预铸梁16。梁16例如是叶片3的吸力侧梁或压力侧梁。
干纤维铺层9'通过已知的真空灌注工艺进行预铸,如EP 1 310 351 A1中所述。在该真空灌注工艺中,纤维铺层9'被真空袋(未示出)覆盖,并且真空袋在上模具8的水平部分21、22处被密封(未示出)。此外,在真空袋覆盖的空间中产生真空,树脂(未示出)被灌注到纤维铺层9'中并固化,从而得到图2所示的预铸纤维铺层9"。
在该方法的步骤S2中,提供下模具23,如图3所示。下模具23填充有干纤维铺层24'。
干纤维铺层24'包括外层层压板25和内层层压板26。此外,干纤维铺层24'包括芯材,例如前缘轻木芯27和后缘轻木芯28。因此,纤维铺层24'具有夹层结构,其中相应的轻木芯27、28夹在外层和内层层压板25、26之间。
纤维铺层24'还包括预铸梁29。梁29例如是叶片3的压力侧梁或吸力侧梁。
下模具23包括模腔30和从模腔30的侧边缘33、34延伸的水平部分31、32。
通过将干纤维铺层24'的主体部分35布置在模腔30内部,将干纤维铺层24'填充到下模具23中。在该示例中,主体部分35包括第一主体部分36和第二主体部分37。
第一主体部分36布置在图3中梁29的左侧。第二主体部分37布置在图3中梁29的右侧。
此外,干纤维铺层24'的延伸部分38、39分别从主体部分35,即从第一主体部分36和第二主体部分37,延伸超出模腔30的侧边缘33、34。
延伸部分38包括第一连续部分40和第一锥形部分42。延伸部分39包括第二连续部分41和第二锥形部分43。
在该示例中,连续部分40具有与纤维铺层24'的第一主体部分36相同的外层层压板25、前缘轻木芯27和内层层压板26的层结构。此外,连续部分40具有与第一主体部分36相同的厚度d1。此外,连续部分41具有与纤维铺层24'的第二主体部分37相同的外层层压板25、后缘轻木芯28和内层层压板26的层结构。此外,连续部分41具有与第二主体部分37相同的厚度d2。
在第一和第二锥形部分42、43中的每一个中,内层层压板26、相应的轻木芯27、28和外层层压板25是锥形的。因此,锥形部分42、43各自具有连续的倾斜表面44、45。
在该方法的步骤S3中,将模芯46布置在干纤维铺层24'上,如图4所示。模芯46包括第一模芯部分47和第二模芯部分48。第一和第二模芯部分47、48中的每一个例如包括坚固的内芯49、50和柔性外部部分51、52。柔性外部部分51、52例如包括可被压缩的泡沫材料。
在布置模芯部分47、48之前,每个模芯部分都用真空袋53、54覆盖,如图4所示。真空袋53、54被密封。
在该方法的步骤S4中,在干纤维铺层24'上以及在第一和第二模芯部分47和48之间提供剪力腹板55。在图中所示的示例中,腹板55是干铺层。在其他示例中,腹板55也可以是预铸的。
步骤S4可以与布置模芯部分47、48的步骤S3同时执行。
在该方法的步骤S5中,干纤维铺层24'的延伸部分38、39被向上折叠到模芯46的相应第一和第二模芯部分47、48上,如图5所示。
在该方法的步骤S6中,延伸部分38、39被固定到相应的第一和第二模芯部分47、48上。具体地,延伸部分38通过第一胶带56固定到被真空袋53覆盖的第一模芯部分47上。此外,延伸部分39通过第二胶带57固定到被真空袋54覆盖的第二模芯部分48上。
在该方法的步骤S7中,在步骤S1中(图2)在上模具8中预铸的预铸纤维铺层9"被固定到上模具8上。预铸纤维铺层9"例如如图6所示,通过将第一箔片58和第二箔片59分别连接到预铸纤维铺层9"和上模具8上来固定到上模具8上。箔片58、59被密封。图6示出了示例性密封件60。在箔片58、59覆盖的空间中产生真空,该真空将预铸纤维铺层9"保持在上模具8中,同时在下一步中将其翻转并降低到下模具23上。
步骤S1和S7可以在步骤S2至S6之前、与步骤S2至S6同时或在步骤S2至S6之后执行。
在该方法的步骤S8中,上模具8布置在下模具23上,如图6所示。将上模具8布置在下模具23上包括将上模具8从图2中的位置翻转到图6中的位置。图6示出了纤维铺层9"已经固定到上模具8上,并且上模具8被抬起、翻转并正在降低到下模具23上的状态。
图7示出了上模具8已经布置在下模具23上的状态。预铸纤维铺层9"和干纤维铺层24'在第一和第二重叠区域61、62中彼此重叠。图7示出了具有重叠区域61放大视图的插图。具体地,预铸纤维铺层9"的锥形部分18和干纤维铺层24'的锥形部分42在重叠区域61中彼此重叠。因此,锥形部分18的倾斜表面20和锥形部分42的倾斜表面44彼此直接接触。
类似地,预铸纤维铺层9"的锥形部分17和干纤维铺层24'的锥形部分43在重叠区域62中彼此重叠。因此,锥形部分17的倾斜表面19和锥形部分43的倾斜表面45彼此直接接触。
在该示例中,如图7的插图所示,预铸纤维铺层9"的层结构,包括外层和内层层压板12、13以及相应的芯材14、15,与干纤维铺层24'的层结构,包括外层和内层层压板25、26以及相应的芯材27、28相匹配。
在该方法的步骤S9中,在由上模具8、23和覆盖模芯部分47、48的真空袋53、54限定的空间63中产生真空,如图8所示。
在步骤S10中,树脂65被引入空间63中。具体地,树脂65被引入空间63中包括干纤维铺层24'、连接区域66、67和腹板55的部分。树脂65例如通过真空灌注工艺引入,例如真空辅助树脂传递模塑(VARTM)。关于真空的产生、树脂65的灌注和固化的更多细节,请参阅EP 1 310 351 A1。
图中所示的示例示出了腹板55是干铺层的情况。在这种情况下,腹板55完全被树脂65灌注,如图所示。
在其他示例中,可以使用预铸腹板而不是腹板55。那么,树脂65将仅灌注到这种腹板的上下连接部分(即,这种腹板将与梁16连接的区域以及这种腹板将与梁29连接的区域),而不是这种腹板的垂直部分。
图8示出了树脂65通过其灌注的示例性入口通道64。随着树脂65的吸入,干纤维铺层24'、连接区域66、67(在干纤维铺层24'和预铸纤维铺层9"之间)和腹板55在单个工艺步骤中被铸造。
每个连接区域66、67特别包括相应的重叠区域61、62。在该示例中,连接区域66、67分别大于重叠区域61、62。在另一个实施例中,连接区域66、67和重叠区域61、62可以分别相同。
由于上模具8中的纤维铺层9"是预铸的,因此在步骤S9的真空灌注过程中,树脂65只需填充干纤维铺层24'、连接区域66、67和腹板55,而无需填充预铸纤维铺层9"的剩余部分。因此,与上模具8中的纤维铺层处于干燥状态(即没有树脂)的情况相比,树脂65必须行进更短的路径并填充更小的体积。
在步骤S11中,灌注的树脂65通过已知工艺固化,以获得固化并组装的叶片壳体。如图8所示,上模具8中的预铸纤维铺层9"在所制造的叶片3中成为第一半壳体10。
此外,下模具23中的纤维铺层24"一旦灌注并固化,在所制造的叶片3中成为第二半壳体68。腹板55一旦固化,在叶片3的内部腔体71内横向连接第一半壳体10和第二半壳体68。
在该示例中,壳体10、68的所得纤维增强树脂层压板在整个重叠区域61、62和连接区域66、67中具有相同的结构,包括内层层压板13、26、芯材14、15、27、28和外层层压板12、25。因此,获得了在重叠和连接区域61、62、66、67上具有均匀特性(例如均匀强度和重量)的壳体的叶片3。
在步骤S12(未示出)中,模芯部分47、48和真空袋53、54从叶片3中移除,例如通过叶片3的根部。
通过这种方法,制造出一种叶片,其中第一和第二壳体10、68通过层压接头彼此连接,该接头是轻质且同时坚固的接头。
在另一个实施例中,如图9所示,上模具108中的预铸纤维铺层109"和下模具123中的干纤维铺层124'的重叠区域161不包含芯材115、127。因此,在重叠区域161中,预铸铺层109"的外层和内层层压板112、113与下模具123中的纤维铺层124'、124"的外层和内层层压板125、126重叠。
然而,预铸纤维铺层109"的芯材115不与下模具123中的纤维铺层124'、124"的芯材127重叠。
在另一个实施例中,如图10所示,辅助材料69布置在上模具208中的预铸纤维铺层209"和下模具223中的纤维铺层224'、224"的重叠区域262中。辅助材料69例如是PUR材料。在图10的示例中,其被施加以形成叶片3的气动轮廓的锐边70,例如在翼型的后缘处。
在图10的示例中,辅助材料69布置在预铸纤维铺层209"的锥形边缘部分217的倾斜表面219和下模具223中的纤维铺层224'、224"的锥形边缘部分243的倾斜表面245之间。此外,布置有迷你腹板229,连接预铸纤维铺层209"、辅助材料69和纤维铺层224'、224"。
尽管本发明已根据优选实施例进行了描述,但对于本领域技术人员而言,所有实施例中都可能进行修改是显而易见的。 Patent claims
- A method for manufacturing a wind turbine blade (3), comprising the steps of:
- arranging (S8) an upper mould (8) comprising a precasted fibre lay-up (9") on a lower mould (23) comprising a dry fibre lay-up (24') and a mould core (46),
- applying vacuum (S9) to a space (63) between the upper and lower moulds (8, 23) and the mould core (46),
- infusing (S10) at least the dry fibre lay-up (24') and a connection region (66, 67) between the dry fibre lay-up (24') and the pre-casted fibre lay-up (9") with a resin (65), and curing (S1l) the resin (65).
-
The method according to claim 1, wherein the dry fibre lay-up (24') and/or the pre-casted fibre lay-up (9") includes a core material (14, 15, 27, 28).
-
The method according to claim 1 or 2, wherein the connection region (66, 67) comprises an overlap region (61,62)in which the pre-casted fibre lay-up (9") and the dry fibre layup (24') overlap each other.
-
The method according to claim 2 and 3, wherein the precasted fibre lay-up (9") and/or the dry fibre lay-up (24') Comprises the core material (14, 15, 27, 28) in the overlap region (61, 62).
-
The method according to claim 3 or 4, wherein both the dry fibre lay-up (24') and the pre-casted fibre lay-up (9") comprise at least one tapered edge portion (17, 18, 42, 43) overlapping each other in the overlap region (61, 62).
-
The method according to one of claims 1 to 5, wherein the pre-casted fibre lay-up (9") and the dry fibre lay-up (24') are in direct contact with each other in the connection region (66, 67).
-
The method according to one of claims 1 to 5, wherein an auxiliary material (69) is disposed between a surface (219) of at least one edge portion (2i7) of the pre-casted fibre lay-up (9") and a surface (245) of at least one edge portion (243)of the dry fibre lay-up (24').
-
The method according to one of claims 1 to 7, wherein the dry fibre lay-up (24') in the lower mould (23) has a main portion (35) inside a cavity (30) of the lower mould (23) and at least one extending portion (38, 39) extending from the main portion (35) beyond a side edge (33, 34) of the cavity (30) of the lower mould (23), and wherein the method comprises, before the step of arranging (S8) the upper mould (8) on the lower mould (23), the steps of arranging (S3) the mould Core (46) on the dry fibre lay-up (24') in the lower mould (23) and folding up (s5) the at least one extending portion (38, 39) of the dry fibre lay-up (24') onto the mould core (46) 。
-
The method according to claim 8, wherein a continuation portion (40, 4l) of the at least one extending portion (38, 39) has the same layer structure and/or the same thickness (dl, d2) as the main portion (35), the continuation portion (40, 4l) being continuous with the main portion (35).
-
The method according to claim 8 or 9, comprising, after the step of folding up (S5) the at least one extending portion (38, 39) onto the mould core (46), the step of fixing (S6) the at least one folded-up extending portion (38, 39) at the mould core (46).
-
The method according to one of claims 1 to 1o, comprising, before the step of arranging (S8) the upper mould (8) comprising the pre-casted fibre lay-up (9") on the lower mould (23), the step of fixing (S7) the pre-casted fibre layup (9") to the upper mould (8).
-
The method according to one of claims 1 to 11, comprising, before the step of applying vacuum (S9), the step of covering the mould core (46) with a vacuum bag (53, 54), and wherein the vacuum is applied to a space (63) between the up5 per and lower moulds (8, 23) and the vacuum bag (53, 54).
-
The method according to one of claims 1 to 12, comprising, before the step of arranging (S8) the upper mould (8) on the lower mould (23), the step of arranging one or more rein10 forcement beams (29) on the dry fibre lay-up (24').
-
The method according to one of claims 1 to 13, comprising, before the step of arranging (S8) the upper mould (8) on the lower mould (23), the step of arranging (S4) a web (55),
-
and wherein at least the dry fibre lay-up (24'), the connection region (66,67) and the web (55) is infused (S10) with resin (65) . 15. The method according to claim 14, wherein the web (55) is configured to transversally connect the pre-casted fibre layup (9") and the dry fibre lay-up (24', 24"), once cured, within an interior cavity (7l) of the blade (3).
一种制造风电机组叶片 (3) 的方法,包括以下步骤:
- 布置 (S8) 包括预铸纤维铺层 (9") 的上模具 (8) 在包括干纤维铺层 (24') 和模具型芯 (46) 的下模具 (23) 上;
- 施加真空 (S9) 至上模具 (8)、下模具 (23) 和模具型芯 (46) 之间的空间 (63);
- 用树脂 (65) 灌注 (S10) 至少干纤维铺层 (24') 以及干纤维铺层 (24') 和预铸纤维铺层 (9") 之间的连接区域 (66, 67),并固化 (S11) 该树脂 (65)。
-
根据权利要求 1 所述的方法,其中所述干纤维铺层 (24') 和/或所述预铸纤维铺层 (9") 包括芯材 (14, 15, 27, 28)。
-
根据权利要求 1 或 2 所述的方法,其中所述连接区域 (66, 67) 包括重叠区域 (61, 62),在该重叠区域中,所述预铸纤维铺层 (9") 和所述干纤维铺层 (24') 相互重叠。
-
根据权利要求 2 和 3 所述的方法,其中所述预铸纤维铺层 (9") 和/或所述干纤维铺层 (24') 在所述重叠区域 (61, 62) 中包括所述芯材 (14, 15, 27, 28)。
-
根据权利要求 3 或 4 所述的方法,其中所述干纤维铺层 (24') 和所述预铸纤维铺层 (9") 两者包括至少一个锥形边缘部分 (17, 18, 42, 43),在所述重叠区域 (61, 62) 中相互重叠。
-
根据权利要求 1 至 5 中任一项所述的方法,其中所述预铸纤维铺层 (9") 和所述干纤维铺层 (24') 在所述连接区域 (66, 67) 中相互直接接触。
-
根据权利要求 1 至 5 中任一项所述的方法,其中辅助材料 (69) 布置在所述预铸纤维铺层 (9") 的至少一个边缘部分 (217) 的表面 (219) 和所述干纤维铺层 (24') 的至少一个边缘部分 (243) 的表面 (245) 之间。
-
根据权利要求 1 至 7 中任一项所述的方法,其中下模具 (23) 中的所述干纤维铺层 (24') 在所述下模具 (23) 的型腔 (30) 内部具有主体部分 (35) 并且具有至少一个延伸部分 (38, 39),该延伸部分从所述主体部分 (35) 延伸超出所述下模具 (23) 的型腔 (30) 的侧边缘 (33, 34),并且其中所述方法包括,在布置 (S8) 所述上模具 (8) 在所述下模具 (23) 上的步骤之前,布置 (S3) 所述模具型芯 (46) 在所述下模具 (23) 中的所述干纤维铺层 (24') 上,以及将所述干纤维铺层 (24') 的所述至少一个延伸部分 (38, 39) 折叠 (S5) 到所述模具型芯 (46) 上的步骤。
-
根据权利要求 8 所述的方法,其中所述至少一个延伸部分 (38, 39) 的延续部分 (40, 41) 具有与所述主体部分 (35) 相同的层结构和/或相同的厚度 (d1, d2),所述延续部分 (40, 41) 与所述主体部分 (35) 连续。
-
根据权利要求 8 或 9 所述的方法,包括,在将所述至少一个延伸部分 (38, 39) 折叠 (S5) 到所述模具型芯 (46) 上的步骤之后,将所述至少一个折叠的延伸部分 (38, 39) 固定 (S6) 在所述模具型芯 (46) 上的步骤。
-
根据权利要求 1 至 10 中任一项所述的方法,包括,在布置 (S8) 包括所述预铸纤维铺层 (9") 的所述上模具 (8) 在所述下模具 (23) 上的步骤之前,将所述预铸纤维铺层 (9") 固定 (S7) 到所述上模具 (8) 上的步骤。
-
根据权利要求 1 至 11 中任一项所述的方法,包括,在施加真空 (S9) 的步骤之前,用真空袋 (53, 54) 覆盖所述模具型芯 (46) 的步骤,并且其中所述真空施加至所述上模具 (8)、所述下模具 (23) 和所述真空袋 (53, 54) 之间的空间 (63)。
-
根据权利要求 1 至 12 中任一项所述的方法,包括,在布置 (S8) 所述上模具 (8) 在所述下模具 (23) 上的步骤之前,布置一个或多个加强梁 (29) 在所述干纤维铺层 (24') 上的步骤。
-
根据权利要求 1 至 13 中任一项所述的方法,包括,在布置 (S8) 所述上模具 (8) 在所述下模具 (23) 上的步骤之前,布置 (S4) 腹板 (55) 的步骤,并且其中至少所述干纤维铺层 (24')、所述连接区域 (66, 67) 和所述腹板 (55) 用树脂 (65) 灌注 (S10)。
-
根据权利要求 14 所述的方法,其中所述腹板 (55) 被配置成在固化后,在所述叶片 (3) 的内部型腔 (71) 内横向连接所述预铸纤维铺层 (9") 和所述干纤维铺层 (24', 24")。
1/11
<html>| InternationalapplicationNo PCT/EP2020/085438 | ||||
| A.CLASSIFICATIONOFSUBJECTMATTER INV. B29D99/00 B29C70/48 B29C70/44 B29C70/86 F03D1/06 B29C70/34 B29C33/50 ADD. B29L31/08 | ||||
| AccordingtoInternationalPatentClassification(IPC)ortobothnationalclassificationandIPC B.FIELDS SEARCHED Minimumdocumentationsearched(classificationsystemfollowedbyclassificationsymbols) | ||||
| B29LB29DB29CF03D Documentationsearchedotherthanminimumdocumentationtotheextentthatsuchdocumentsareincludedinthefieldssearched | ||||
| Electronicdatabaseconsulted duringtheintermational search(nameof databaseand,wherepracticable,searchterms used) | ||||
| EPO-Internal, wPI Data | ||||
| C.DOCUMENTSCONSIDEREDTOBERELEVANT Citationofdocument,withindication,whereappropriate,of therelevantpassages | ||||
| Category* Y A Y | CN 102 672 976 A (KUNSHAN HUAFENG WIND POWER GENERATION AND TECHNOLOGY CO LTD) 19 September 2012 (2012-09-19) paragraphs [0029],. [0036] - [0042], [0045]; figures 2,3 | Relevant to claim No. 1-9, 11-15 10 7,14,15 12 13 | ||
| US 7 980 840 B2(SIEMENS AG [DE]) 19 July 2011 (2011-07-19) A column 6, 1ines 10-12,16-32,40-51 V 29 June 2011 (2011-06-29) [0063]; figures 8,9 | column 7, 1ines 4-10; figures 5-9 EP 2 338 668 A1(LM GLASFIBER AS [DK]) paragraphs [0057],. [0060], [0062], | |||
| X Further documentsarelisted in thecontinuationofBox C. X Special categoriesof cited documents: "A"document defining the general state of the art which is not considered tobeofparticularrelevance | See patent family annex. T"later documentpublishedaftertheinternationalfiling date orpriority dateandnotinconflictwiththeapplicationbutcitedtounderstand theprincipleortheoryunderlying theinvention "X"document of particularrelevance;the claimed invention cannot be considerednovelorcannotbeconsideredtoinvolveaninventive stepwhenthedocument istakenalone | |||
| "E"earlier application orpatent but published on orafter theinternational filingdate "L"documentwhichmaythrowdoubtsonpriorityclaim(s)orwhichis citedtoestablishthepublicationdateofanothercitationorother "Y"document of particularrelevance;theclaimed invention cannot be special reason (as specified) consideredtoinvolveaninventivestepwhenthedocumentis "O”document referring to an oral disclosure,use, exhibition orother combinedwithoneormoreothersuchdocuments,suchcombination means being obvioustoaperson skilled inthe art "P"document published priorto theintermational filing datebutlaterthan the priority date claimed "&"document member of the same patent family | ||||
| Dateoftheactualcompletionoftheinternationalsearch 16 March 2021 | Date of mailing of the international search report 24/03/2021 | |||
| Name andmailing address of the ISA/ EuropeanPatent Office,P.B.5818Patentlaan2 NL-2280HVRijswijk Tel.(+31-70)340-2040, Fax:(+31-70) 340-3016 | Authorized officer Bibollet-Ruche,D | |||
C(Continuation).DOCUMENTS CONSIDERED TO BE RELEVANT
<html>| Category* | Citationofdocument,withindication,where appropriate,of therelevantpassages | RelevanttoclaimNo. |
| EP 2 123 431 A1 (SIEMENS AG [DE]) 25 November 2009 (2009-11-25) paragraphs [0031], [0033], [0034], [0036], [0037]; figures GB 2 497 578 A (VESTAS WIND SYS AS [DK]) 19 June 2013 (2013-06-19) figure 9c | 1-4,6,8, 9,11,12 5 |
| PCT/EP2020/085438 | ||||||
| Patent document cited in search report | Publication date | Patent family member(s) | Publication date | |||
| CN 102672976 US7980840 | A B2 | 19-09-2012 19-07-2011 | NONE CN DK EP | 101549562 A 2106900 T3 2106900 A1 | 07-10-2009 09-07-2012 07-10-2009 18-10-2012 | |
| EP 2338668 | A1 | 29-06-2011 | ES US US CN DK EP EP | 2388756 T3 2009250847 A1 2011210464 A1 102834247 A 2516140 T3 2338668 A1 2516140 A1 | 08-10-2009 01-09-2011 19-12-2012 06-03-2017 29-06-2011 31-10-2012 | |
| EP 2123431 | A1 | 25-11-2009 | ES PL US WO AT CA CN DK EP | 2616704 T3 2516140 T3 2012257984 4A1 2011076857 A1 500050 T 2725031 A1 101909863 A 2123431 T3 2123431 A1 | 14-06-2017 31-05-2017 11-10-2012 30-06-2011 15-03-2011 26-11-2009 08-12-2010 02-05-2011 25-11-2009 25-05-2011 | |
| GB 2497578 | A | 19-06-2013 | ES JP JP NZ US WO BR CA CN DK EP EP ES GB JP | 2359655 T3 5027309 B2 2011507739 A 586733A 2011049770 A1 2009141235 A2 112014014708 A2 2858397 A1 104114856 A 2791500 T3 2791500 A1 3505751 .A1 2497578 A 6105619 B2 A | 2719302 T3 | 19-09-2012 10-03-2011 26-10-2012 03-03-2011 26-11-2009 13-06-2017 20-06-2013 22-10-2014 23-04-2019 22-10-2014 03-07-2019 09-07-2019 19-06-2013 29-03-2017 |
| JP KR US US WO | 2015500942 20140110951 A 2014301859 A1 2020049128 A1 2013087078 A1 | 08-01-2015 17-09-2014 09-10-2014 13-02-2020 20-06-2013 | ||||











